なんである、アイデアル? それともUVION折り畳み自動開閉傘ですか?
傘については、上のようにいろいろ書きまし
たが、傘もどんどん進化していて、折り畳み
傘でも、完全自動で開いたり、閉じたりできる
傘が出てきています。
http://www.tokyo-maruso.com/products-list/pu/
技術の進歩はすごいもんですね。
この傘は、上のURLにあるように、USで
特許を取得していますが、日本でも実用新案
登録がされており、実登3158659「自動開閉傘
の安全構造」となっています。(実用新案権の
存続期間は平成16年の一部改正において
出願の日から10年となり、この出願は平成
21年12月14日でしたので、権利はまだ維持
されています。)
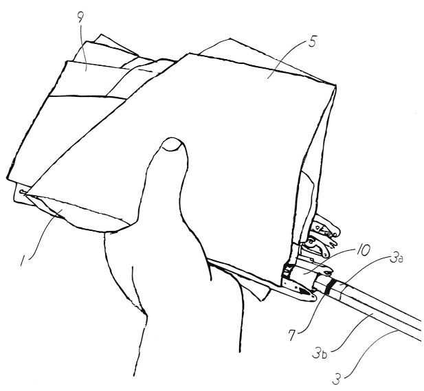
【課題】
傘の収納時に中棒が完全にロックされたことを
容易に視認できるよう構成して、完全にロック
されていない状態で生じる事故を未然に防ぐと
ともに、かりに急に柄の部分が飛び出して身体の
一部にぶつかってもその衝撃を和らげるように
した自動開閉傘の安全構造を提供する。
【解決手段】
中棒3が柄部6に押し込まれ完全にロックされ
るときにこの中棒3が柄部6に入り込む部分に
マーキングを設けてなるとともに、柄部の少なく
とも端部を含む部分をポリウレタン8などの弾性
材により構成する。




ということなのですが、ウィキなどを見ると、
1954年に、洋傘メーカー「丸定商店」の村田
啓一さんが、プロレス中継で見た関節技を
参考にして、骨にスプリングを付けた折り畳み
傘を発売し、植木等さん出演による「なんである、
アイデアル?」というテレビCMで人気を博した
そうですね。
私は、その当時のTVCMは知りませんが、
「昔の懐かしCM」などで見た記憶があります。
これは、どんな発明だったかというと、
WEBを調べても出て来ませんので、私の
ほうで調べると、特許出願公告昭30-7790
「折畳洋傘」というものでした。



それでは、この当時、折り畳み傘という発明は
これだけだったのかというと、非常に多くの発明、
考案が出願されており、たとえば、この昭和
29年出願の折り畳み傘関係の登録だけでも、
33件を数えます。
(検索は、プラピ(J-PlatPat)さんの特実分類
検索でのFI「A45B19/00 」(特殊な折りたたみ
または伸縮できる傘)でおこなっています。)
発明も重要ですが、やはり、アイデアル、と
いう宣伝のしかたがうまかったんですね。
それではそれでは、むかーし昔のその昔、
古ーい古い折り畳み傘の発明、考案はなかった
のかというと、昔からいろんなアイデアが
あったんです。
・ 実明274

・ 実明6380



折り畳みの概念がちょっと違いますが、
さらに昔には、以下のようなものもありまし
たよ。
ということで、これらを嚆矢として(出願
しないものでもいろいろあったと思いますが)
今でも改良、開発は連綿と続けられており、
昔からの折り畳み傘の公開は(昔は登録の
ものしか公開されませんでしたが)、2100件を
越える数となっています。
次はどんなものが出て来るのでしょう?