三井化学さんのワンタッチ遠近切り替え眼鏡タッチフォーカス
次世代アイウェア「TouchFocus™」をiOFT展で日本初公開 | ニュースリリース | 三井化学株式会社
ワンタッチで焦点距離が切り替わる
電子眼鏡だそうですね。
電圧をかけると焦点距離が変わる液晶
レンズを組み込んでいるそうで、来春の
発売だそうで。
値段はいくらになるのでしょう?
商標登録を調べると、商願2017-
030850、030851となっています。

どんな発明なのか調べると、特許
6008873「可変焦点レンズの制御装置、
可変焦点レンズの制御方法、および
電子メガネ」となっていて、PCT出願も
されておりWO2013/088630(最初の
出願はパナさんです)、中国、EPA、
韓国に出願されており、米国ではすでに
登録されています。(USP9541774)
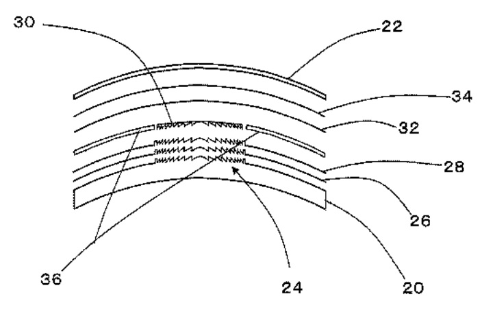
【要約】
制御装置(4)は、第1基板(20)と、
第1基板(20)に対向する第2基板(22)と、
第1基板(20)と第2基板(22)との間に
配置される可変焦点部(14)とを有する
可変焦点レンズ(2)を制御する。制御装置
(4)は、可変焦点部(14)へのオフ信号が
入力されると可変焦点部(14)への電圧を
無印加とした後、所定時間電圧を印加させ、
その後、無印加にさせる。これにより、
可変焦点レンズ(14)の印加電圧の切り
替え時に発生する白濁時間を短くする
ことができる。
【技術分野】
【0001】
本発明は、可変焦点レンズの制御に
関するものである。より具体的に液晶
材料などを用いて屈折率を変えることの
できるレンズの制御に関するものである。




書類を読むとき、遠くに離して読まないと
いけなくなったあなた、
おひとつ、いかがです?