三井化学さんの遠近両用メガネTouchFocus その2
この前、上のようにTouchFocusに
ついて書きましたが、いよいよ発売
されるんですね。
税別25万円だそうで、そのうちお安く
なるのを期待したいですが、前回は可変
焦点レンズにスポットを当てた発明を見て
みましたが、今回は、制御装置がより具体
的となった特表2015-522842「電子眼鏡
及び製造方法」という発明を見てみましょう。
【課題】
外見上容認でき、しかも容易に埋め込み
可能であるように、いかなるタイプのフレー
ムにも収容することができる電気活性レンズに
接続してこれを制御するための軽量で一体
型の電子装置を提供する。
【解決手段】
本明細書に開示するのは、電子眼鏡及び
その関連コンポーネントの設計及び製造の
ためのデバイス及び方法である。電子眼鏡は、
電気活性レンズから成り、これをオン及び
オフする電気信号を電子制御モジュール
から受信する。電子制御モジュールは、
眼鏡フレームのつるに埋め込まれ、つるの
先端部に配置された着脱可能電源パックに
よって可撓ケーブルを介して給電される。
電子眼鏡のコンポーネント間の相互接続
スキームについて、様々な方法により記載
している。




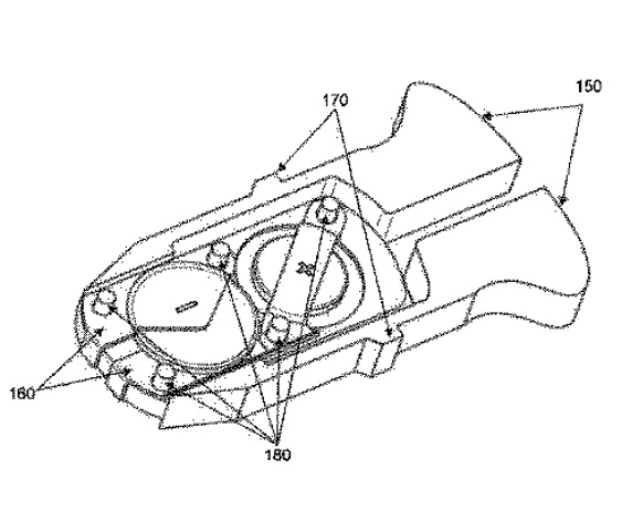
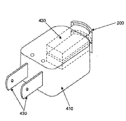
今回の特許出願は、72図と大力作で、
着脱可能な電池パックや充電器、電子素子
アセンブリ、制御モジュールなどが詳し
く示されていますので、興味がある方は
見てみてください。