ナルセさんのワンペダルと、ナンキさんのSTOPペダル
最近、高齢ドライバーの事故が多いと
いうことで、しきりに騒がれています。
本当に高齢ドライバーの事故が増加
しているのか、放送網が発達して来て、
いろんなところの情報が入手しやすく
なり、視聴率が稼げそうな話題を頻繁に
取り上げるようになっているのか、は
よくわかりませんが、高齢ドライバーの
高速道路逆走や、アクセルとブレーキ
の踏み間違いなど頻繁に取り上げられ
ています。
自動運転技術については、以前にシリ
ーズで分析してみましたが、高齢者にこそ
自動運転技術が必要ですね。
(高齢者というのは、私のこと???)
自動車自動運転分析 カテゴリーの記事一覧 - 知財アナリストのひとりごと
アクセル、ブレーキ踏み間違いについては、
この前、夕方のニュースを見ていましたら、
「町工場が本気で開発 間違い撲滅ペダル」
というのをやっていました。
テレビによると、駐車場で年配ドライ
バーが運転する踏み間違い事故は、年間
6000件以上だそうで、運転に自信がない
問い合わせが殺到しているそうなんです。
(私が言っているわけではなくて、テレビ
情報です。)
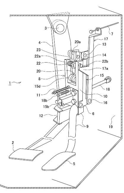
熊本県の町工場さんは、アクセルとブレ
ーキを一体化した、「ワンペダル」という
ものを開発し、注目されているそうで、
ペダルの右側がアクセル、横に倒すと加速し、
踏むとブレーキがかかる仕組みなんだと
言っていました。
ペダルを踏み込むとアクセル装置が外れ
て、ブレーキが踏み込んだ形なるため自動
的にストップするそうで、取り付けにかか
る費用は約20万円で、現在は注文が相次ぎ
数ヶ月待ちなんだそうです。
有限会社」、創業は1962年、資本金1,000
万円、事業内容は、農・漁業用機器の製造・
販売、自動車用駆動・制動部品の製造・販売、
従業員数11名となっています。
http://www.onepedal.co.jp/index.php
番組ではもう一つ企業が取り上げられており、
名前は「ナンキ工業株式会社」、本社は埼玉県
川口市、タウンページでは、業種は冷暖房設備
工事だそうですが、以下のように、社長さんが、
自身の経験から踏み間違い防止ベダルを
開発したんだそうです。
https://itp.ne.jp/shop/KN1100060700057894/
https://www.houdoukyoku.jp/posts/3730
ナンキさんのほうのペダルはSTOPペダル
というそうですが、以下のようなHPとなって
います。(こちらのほうでは、「南器工業株式
会社」とも書かれています)
https://www.nanki-stoppedal.com/-/
ということで、どんな発明となっているのか
調べてみましょう。
まずは、ナルセさんのワンペダルです。
特許出願は2011年2月、出願人と発明者は
鳴瀬益幸さん、特許5788187「自動車用の
ペダル装置」というもので、
【課題】
踏み込んでブレーキ操作をするブレーキ
ペダルと、横方向に所要の角度範囲で回転
させてアクセル操作をするアクセルパッドと
アクセルレバーとアクセルアームとを備えた
ペダル装置において、アクセルの始動や加速
のタイミングなどを各メーカーの車種毎に調整
することができるようにする。
【解決手段】
踏み込んでブレーキ操作をするブレーキ
ペダル2と、横方向に所要の角度範囲で
回転させてアクセル操作をするアクセルパッド
3とアクセルレバー11とアクセルアーム15
とを備えたペダル装置1であって、従来の
ペダル式のブレーキおよびアクセルに替えて
取り付けても、異なるメーカーの各車種および
運転者の好みに対応してアクセルの始動や
加速調整などが容易に行えるのであり、
アクセル操作位置において急ブレーキを
掛けようとしたときに、アクセルからブレ
ーキへの踏み替えなどの時間遅れや踏み
違えがなく、正確にブレーキを掛ける
ことができる。
となっています。


踏み込むとブレーキで、横方向に足を
ずらすとアクセルだそうですが、横方向に
足をずらす操作は体力がいりますので、
とっさの際に、横方向に足をずらす操作は
しないでしょうね。
ただし、アクセル操作で足をずらす
操作は、脚力が弱っているお年寄りにとって、
どうなのでしょうね?
使っている方がいましたら、是非ご一報を。
(足をずらすのが大変で、スピードが出せ
なくてかえって安全だったりして???)
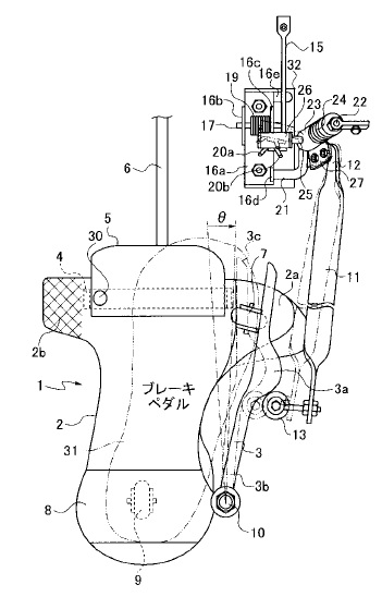
次は、ナンキさんのSTOPペダルです。
こちらのほうの特許出願は、2012年6月、
出願人と発明者は南平次さん、特許5355800、
「アクセルペダル誤動作解消装置」で、
こちらはPCT出願となっており、国際公開
番号はWO2012/169477で、USではすでに
登録され、韓国は審査段階です。
【課題】
アクセルペダルの踏込のみで制動でき
確実にブレーキ制御ができる。
【解決手段】
アクセルペダル誤動作解消装置1はブレーキ
アーム4に固定される支柱体14の吊下ピン
13に踏込力変換吊下体15を吊下し揺動支点
ピン6で第一立上り部材10をアクセル支点
ピン16で第二立上り部材17を支持する。
踏込力変換吊下体15はガイド部材18を移動
可能に支持し一端をシャーシ19に当接する。
変換金具20は上部に吊下ピン13を収容し
下部突設部20cにピン15e及びロック金具
21を有する。ロック金具21はガイド部材
18の欠込部18aと係止又は係脱する。
ガイド部材18とロック金具21が係止する
時ブレーキアーム4の移動を抑制し係脱
する時移動を可能とする。アクセルペダル
5の踏込途中までは第一立上り部材10と
第二立上り部材17は同期して回動する。

と要約と代表図を貼り付けましたが、これ
だけでは、なんのこっちゃ?というところ
ですので、下のURLは、上で記載のURLと
同じものですが、このURLの動画で、仕組み
が詳しく解説されていますので、是非どうぞ。
https://www.nanki-stoppedal.com/-/
尚、「ワンペダル」は商標登録5777745、
「STOPペダル」は商標登録5710115、と
なっていますので、「自動車並びにその部品
及び付属品」に使うとおこられます。