知財アナリストのひとりごと

特許情報分析・知財戦略をやさしく解説します

2016-12-23から1日間の記事一覧

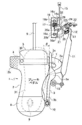
ナルセさんのワンペダルと、ナンキさんのSTOPペダル

最近、高齢ドライバーの事故が多いと いうことで、しきりに騒がれています。 本当に高齢ドライバーの事故が増加 しているのか、放送網が発達して来て、 いろんなところの情報が入手しやすく なり、視聴率が稼げそうな話題を頻繁に 取り上げるようになってい…