パテントマップ特許情報分析ロボットスーツ編 15 アクティブリンク
今回はアクティブリンクさんです。
アクティブリンクさんの正式名称は、
「アクティブリンク株式会社」、資本金の
内訳は、出身母体のパナさんが79.6%、
三井物産19.6%となっています。
http://activelink.co.jp/doc/127.html
アクティブリンクさんは、ご存知のように、
パナさんの社内ベンチャーで2003年に
設立されています。
あんまり関係ないですが、実は、「株式
会社アクティブリンク」という会社が茨城に
あったのですが、2008年に、惜しくも
倒産してしまいましたので、現在、アクティブ
リンクで検索すると、パナさんベンチャーしか
出てきません。
茨城の株式会社アクティブリンクさんは、
「千姫物語」という商標登録(第5022424号)
もあったのですが、残念でした。
ということで、パナさんベンチャーのほうを
調べていきましょう。
とは言ったものの、出願公開で、「アクティブ
リンク株式会社」と打ち込んでも、特開2009-
112578(動作支援装置)と特開2014-087857
(多軸ジョイスティック)の2件しか出てきません。
パナさん全部を調べるのも面倒ですので、
弱りましたね。
この前、技術分類で調べたもので、パナさん
だけを絞り込んでも良いですが、今回は
フェイントをかけて、代表者である「藤本弘道」
さんで検索をかけてみましょう。
関係ない人も出て来るかな、と思って
「発明者」に「藤本弘道」さんと打ち込んで
みると、しめしめ、同姓同名の発明者は
いないようです。
ということなので、出願公開28件で調べて
いきましょう。
数が少ないので、全件の発明の名称を
貼り付けると以下となります。

全く関係ないものを除くと、関係しそうな
ものは色付けしたものとなりますので、
これでどんな発明なのか見て行きましょう。
アクティブリンクさん(藤本さんですね)が
どこと共願になっているかというと、この
前取り上げた、クボタさんが3件、新日鉄
住金さんが1件となっていました。
ということなので、、請求の範囲では、
どんなキーワードが多いのかで分析してみると、
「動作を制御するために、検知したり、
検出したりするセンサーを備えており、
補助したり、配置したりするための空気圧
などでのアクチュエータを使用する」と
いうものが多いようです。
これを統計的にマニプレーター関係で
調べると、以下のようになっています。


ということなので、個別に見て行って
みましょう。
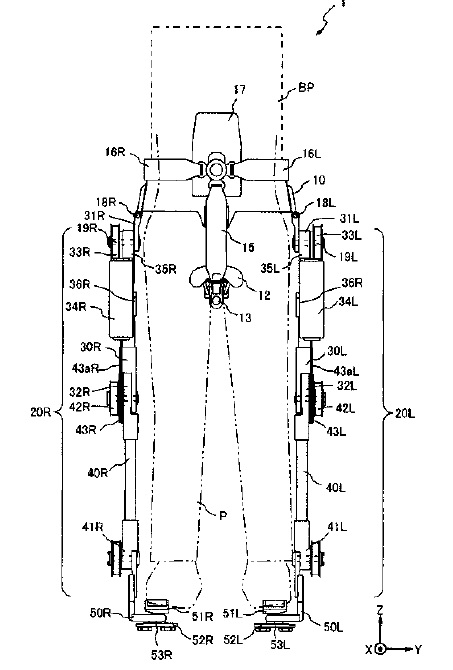
・ 特開2013-116319 下肢動作支援装置
利用者への装着を簡易にすると共に、
利用者の自由度を向上させると共に、
前傾姿勢での屈伸作業においても
安定して利用者を支えられる下肢動作
支援装置を提供するんだそうです。

姿勢保持具は、この前のクボタさんとの
共願のものですので、そちらを見てください。
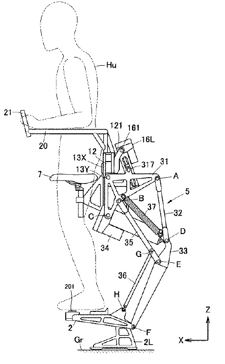
・ 特開2012-147944 下肢動作支援装置
利用者への装着を簡易にすると共に、
利用者の動作をより精度よく予測する
ことができる下肢動作支援装置を提供
するそうです。

次のマニピュレータ装置という出願は、
ロボットスーツとは関係なさそうです
ので、これはスキップしましょう。
・ 特開2009-112578 動作支援装置
使用者の動作支援を行う場合に、使用者の
望む方向および力で安全に動作支援する
ことができるようにするんだそうです。

・ 特開2008-253539
下肢パワー増幅装置の脚部屈伸動作駆動リンク機構
立脚には膝の曲がりを防止するのにアクチュ
エータの負荷を軽減することができるとともに
遊脚には少ないエネルギーで膝を曲げる
ことができ、立脚及び遊脚にそれぞれ有効に
機能する自重補償機能を有する下肢パワー
増幅装置の脚部屈伸動作駆動リンク機構を
提供しますよ。


もうこうなると、完全にロボットですね。
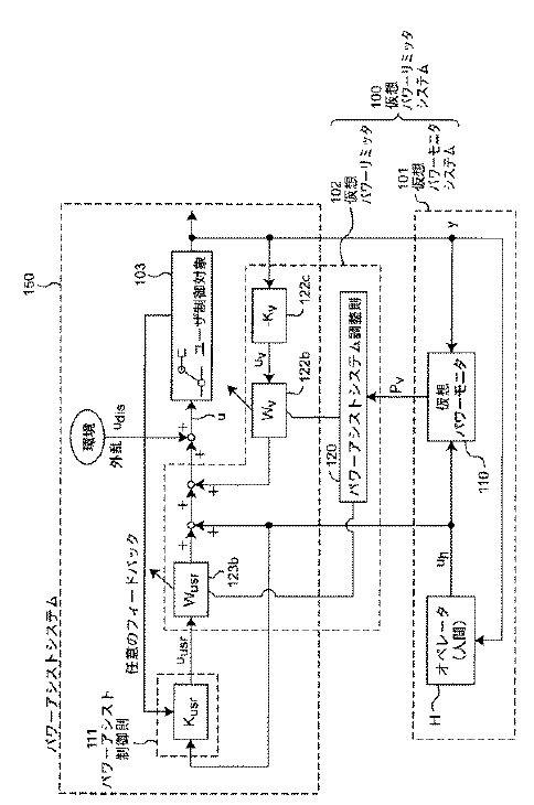
・ 特開2008-097394
パワーアシスト制御システム及びパワーアシスト装置
システム全体の性能を低下させることなく、
入力信号にノイズを有するような制御
システムにおいて制御を安定化させる
ことができる制御システムを提供します。

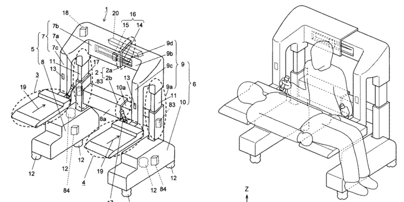
・ 特開2008-086542
介護用ロボット装置
不特定な介護者が装置を使用する場合で
あっても、介護者それぞれにとって介護
動作を行うのに適した動作空間を確保し、
被介護者を支持して持ち上げ、他の場所に
移動可能とする介護用のロボットです。

・ 特開2007-167484 筋力補助装置
小型かつ軽量であるので利用者の動作
範囲を限定せず、かつ、リンク機構を
用いずに力の伝達を行え、利用者の
屈曲運動に対して可動範囲を邪魔せず、
装着性、および、安全性の高い筋力
補助装置を提供するんだそうです。

ということで、アクティブリンクさんは
こんなところなのですが、このほかにも
今までの連載でパナさんの出願をいろいろ
見ていますので、傾向はつかめると思います。
このほかのベンチャーとしては、サイバー
ダインさんもありますが、以下のように
この前書きましたし、ベンチャー的な
ところで出願が多いところはこんな
ところでしょう。
あとは、エクォスさんや、トヨタさん、
ホンダさんなど大きなところもありますが、
日本のロボットスーツ関係分析はこのへんで
終わりにして、次回は海外を調べてみましょう。
それではまた。