パテントマップ特許情報分析ロボットスーツ編 14 イノフィス
ということで、今までは、特許技術分類で
検索をかけて調べて来ましたが、たとえば、
この前、「マッスル スーツ」(商標登録
4642254)という商標登録があるよと簡単に
触れた、「イノフィス」さんなど出てきま
せんでしたので、今度は、横ぐしというか
縦ぐしというか、企業名または発明者名で
検索をして、どんな発明があるのかを調べて
見ましょう。
(株式会社イノフィスさんからは、
「マッスルウェア」(登録4704724)という
商標登録もされていますので、以下の
指定商品に使用された場合、怒られますので、
気をつけましょう。
9 空気圧式アクチュエータを用いた人工筋肉を
備えた防火被服,四肢関節を動かす筋肉を
サポートする防火被服 17A06
10 空気圧式アクチュエータを用いた人工筋肉
及びそれを用いた医療用の補助器具 10D01
25 空気圧式アクチュエータを用いた人工筋肉を
備えた運動用特殊衣服あるいは作業服あるいは
作業用特殊衣服,四肢関節を動かす筋肉を
サポートする運動用特殊衣服あるいは作業服
あるいは作業用特殊衣服 17A01 24C01 24C04
ということで、まずは、「イノフィス」
さんです。
株式会社イノフィスさんは、東京理科大の
小林宏教授が中心になって、金型・部品
加工メーカーの菊池製作所さんとの共同
出資のベンチャー企業なわけでして。
http://www.kikuchiseisakusho.co.jp/
http://robotcare.jp/?page_id=849
http://www.tus.ac.jp/fac_grad/p/index.php?1825
ということで、まずは、発明者を「小林
宏」さん、出願人を、「東京理科大」または
「イノフィス」さんの出願公開で国内検索を
かけると、36件でした。
(出願公開+特許での検索も同数です)
ということでどんな発明があるのか
見てみましょう。
数が少ないので、まずは、発明の名称
で見てみましょう。
下は、出願順に並べていますが、マッスル
スーツだけに的を絞って研究しているわけ
ではなく、いろんな研究をしており、これは
以下の、小林ラボのHPに書かれている
ような発明がされているんですね。

上にあるようにマッスルスーツ自体の
発明は「腰部補助装置」というもので
しょうか。
ということで、ロボットスーツに関係
しそうな色付けをしたものを調べてみま
しょう。
まずは、出願人ですが、まだ「イノフィス」
さんからの出願はなく、すべて東京理科大
からの出願になっています。
それでは、東京理科大ではどこと共同
研究をおこなっているかというと、以下の
ように4件が日立メディコさん、1件が
日本ロボティクスさんでした。

発明者は、小林宏さんのほかの上位は
以下となっています。

発明に特有のキーワードで分析すると、
腰部補助装置(マッスルスーツですね)と
歩行補助装置は、アクチュエータやエア
シリンダというキーワードがヒットし、指
駆動システムでは、サーボモータという
キーワードがヒットしています。
小林先生の発明の特徴としては、
ロボットスーツを動かす一般的な
電機モーターではなく、圧縮空気を
使うというところがみそのようですので、
これがヒットしているのでしょう。
ということで、どんな発明になって
いるのか見てみましょう。
・ 特開2009-011818
まず一番初めの腰部補助装置です。
利用者の前傾姿勢維持を補助することが
できる腰部補助装置だそうです。

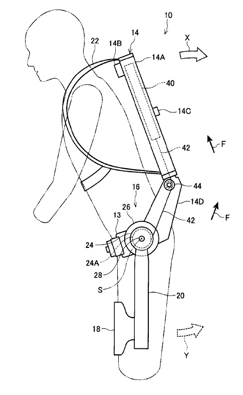
・ 再公表2011/036906
腰部補助装置は、利用者の背部に
装着され、利用者の前方への傾倒に
追従移動可能な背中フレーム14と、
背中装着部に取り付けられ利用者の
体幹前方側へ延出されて利用者の
体幹前方側を支持する肩ベルト22と、
利用者の下肢の前方に装着される
太腿プレート18と、一端部が太腿
プレート18に連結され、他端部が
背中フレーム14と相対移動可能に
関節部16で連結され、相対移動時に
非屈曲形状を維持可能な連結フレーム
20と、作動状態において、背中フレーム
14の利用者の前方への傾倒を停止
させるアクチュエータ40と、を備えて
いるんだそうですよ。

そのほかの腰部補助装置は同じ
ようなものでしたので、歩行補助
装置を見てみましょう。
(特開2013−075078は前回記載
しています)
・ 特開2007−14698
こちらのほうは、その名の通り、
完全な、装置ですね。

・ 再公表2009/044568
利用者に、良好な歩行運動を行わせる
ことが可能な歩行補助装置を提供する
んだそうです。

次は指駆動システムです。
・ 特開2007-313093
指に負担をかけずに、指の屈曲動作を
補助するんだそうですよ。

次は、上腕補助装置です。
・ 特開2012-239818
利用者の前腕部分、手部分の動きの
関連付けを実現することの可能な上腕
補助装置だそうです。

ということで、小林先生の発明はこんな
ところなのですが、イノフィスさんの共同
出資者である、菊池製作所さんを調べると、
特開2014-121499 (動作支援システム、
随意運動認識装置及び随意運動認識
プログラム)、特開2013-123577(歩行
補助装置)、特開2013-043028(筋電
データ処理装置、そのプログラム、
及び動作支援装置)などが、菊池製作所
さん単独、または早稲田大学との共願で
出されています。
(菊池製作所さん、小林先生のほかに、
浮気しちゃってるんでしょうか?
・・・・きっと違いますね)
ということで、それではまた。
2015年10月15日(木)追記:
10月10日(土)の「ぶらり途中
下車の旅」という番組で、石丸謙二郎
さんが歩いていると、リュックサックの
ようなものを背負った人がいたので、
聞いてみたら、これが、マッスルスーツ
だったというのをやっていました。
http://www.ntv.co.jp/burari/contents/detail_2682792.html
取り上げていたマッスルスーツは、
マウスピースが装着されており、息を
吸うと、ゴムチューブをナイロンメッシュで
包んだ人工筋肉に、空気が入り固くなり、
腰が伸びる方向に力が働くので、重い
ものを持ちあげる際の補助力として働き、
下ろす時には息を吐くと空気が抜けて、
補助力が弱まるので、自然と腰が
曲がるようになっていて、重い荷物の
積み下ろし作業などに役立つそう
ですよ。