パテントマップ特許分析自動車自動運転編 20 衝突回避手段詳細 その2
前回の続きです。
・ 特開2008-305421 車両用走行支援装置
トヨタ自動車株式会社
【課題】 障害物検出手段としてレーダと
画像認識に加え、運転者の脇見検出
手段を用いて走行支援を行う車両用
走行支援装置において、各検出手段の
検出結果に応じた適切な支援制御を
設定した車両用走行支援装置を提供
する。
【解決手段】 レーダ(ミリ波)による
障害物検出結果と、画像認識による
障害物検出結果を照合して、両者で
検出した場合とそれぞれのみで検出
した場合に分岐する。これに脇見
運転の判断を加味して、分岐を行い、
分岐結果に応じて走行支援制御の
開始条件を変更することで、運転者の
注意に応じた支援制御を実行する。
ということで、こちらの発明は、完全な
自動運転ではなくて、運転支援のために、
レーダーおよび画像認識を使用して
障害物を検出したりするんです。


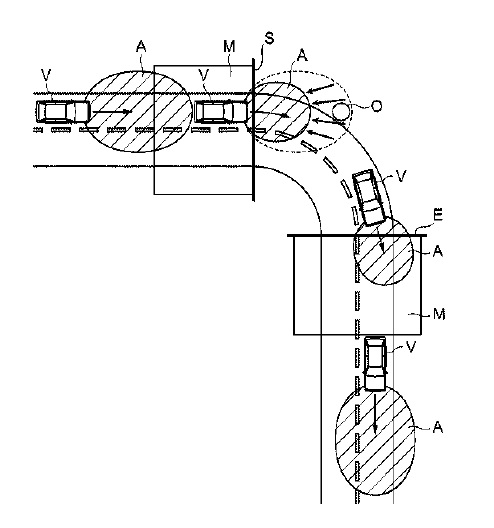
・ 特開2010-015450 衝突防止装置
トヨタ自動車株式会社
【課題】 不要動作の低減と衝突防止の
動作速度の向上とを両立させることが
可能な衝突防止装置を提供する。
【解決手段】 ミリ波レーダセンサ等が
検出した障害物と自車両Vとの衝突
回避及び被害軽減を行なう衝突防止
制御部を備え、衝突防止制御部は、
自車両Vのカーブ走行時は作動を
抑制する。よって、カーブの路側物O
等による不要動作を低減できる。
自車両Vがカーブ入口Sに位置して
いるかは、道路情報取得部が取得した
道路情報により判定するため、舵角等
の変動後にカーブ走行中と判定する
場合に比べて、判定の遅れによる
不要動作を防止できる。自車両Vが
カーブ出口Eに位置しているかは、
車両状態量取得部32が取得した
旋回状態に関する車両状態量に
より判定するため、自車両Vが旋回
していないことが検知された早期に
作動の抑制を解除し、直線路で衝突
防止の効果を向上できる。


・ 特開2010-003002 衝突予測装置
トヨタ自動車株式会社
【課題】 物体との衝突部位の予測精度を
向上させることができる衝突予測装置を
提供する。
【解決手段】 衝突予測装置は、自車両
周辺の障害物を検出すると共に、自車両が
走行する道路のカーブ半径を推定し、
その推定カーブ半径の微分値を算出
する。そして、衝突予測装置は、推定
カーブ半径の微分値をR補正係数で
補正して推定カーブ半径微分係数を
算出し、その推定カーブ半径微分係数を
用いて、自車両の部位区間毎に蓄積
された衝突確率の積算値を補正する。
そして、衝突予測装置は、自車両に
おける障害物との衝突部位を予測し、
上記の推定カーブ半径微分係数を用
いて、衝突確率の積算上げ幅を設定
する。そして、衝突予測装置は、該当
する衝突部位における衝突確率の
積算値に対して今回の衝突確率を
積算上げ幅の分だけ加算し、衝突部位
毎の衝突確率の積算値に基づいて、
自車両のある部位区間に障害物が
衝突するかどうかを判定する。


このように、ちょっとだけですが詳細を
見てみましたが、一口に自動運転といっても、
かなりの検出手段と制御手段が必要な
ようで、我々素人が考えているようなナイト
ライダー??というのは、結構難しいんですね。