電池要らずの電気自動車?
今回は、豊橋技科大、大平先生の、
研究の話です。
(としたり顔?で書いていますが、全然
面識はないんです。すんません)
ガソリン要らずで、しかも電池も必要
なくって、地面から電気を常に受け取って
走れる電気自動車があったら便利です
よね。
下のURLのように、英国では、非接触
充電レーンというのを設けて試験をおこ
なうそうですが、まだまだ、100%電気を
受け取って走るまでにはいかないんでは
ないかと思います。
http://www.huffingtonpost.jp/engadget-japan/uk-ev-lane_b_8006804.html
日本ではまだ英国の実験までは行きま
せんが、供給ステーションで非接触充電
できる、非接触給電ハイブリッドバス
などは走っているようですが。
http://www.kotsu.metro.tokyo.jp/newsevent/news/bus/2011/bus_i_201101241_h.html
じゃあ、日本では、電池要らずで走り
ながら電気を受け取り走行できるような
研究はされているのか?というと、たと
えば、豊橋技科大の大平孝先生(教授)
と、豊田中研さんから、特開2012-
175869「車両給電装置及び車輛給電
方法」などが出ているんです。
(特許5777139号です)

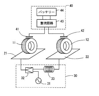
これは、どんな内容かというと、
【課題】は、「車両に対して、駐車、
走行時に、構造簡単にして、安定して
高効率で給電すること」であって、
【解決手段】は、「車両の有する第1
タイヤ11の下方に設置された第1導体
21と、車両の有する第2タイヤ12の
下方に設置された第2導体22とから、
第1タイヤ11及び第タイヤ12を介して、
車両に給電する車両給電装置であり、
第1タイヤ11に近接し、第1タイヤ11と
容量結合して、車両に配設された第1
電極41を有し、第2タイヤ12に近接し、
第2タイヤ12と容量結合して、車両に
配設された第2電極42を有する。第1
導体21と第2導体22の間に給電され
る交流電力を、第1電極41と第2
電極42により受電する受電装置40を
有し、第1導体21と第2導体22の間に
交流電力を給電する電源装置30を有
する。」んです。
まあ、上のように、道路からタイヤを
通じて電力を受け取って走行するわけ
ですが、大平先生のところでは、まずは、
1周20m程度のコースで、バッテリー
なしの車で、走行テストをおこなって
いるそうで、残念ながら、まだ時速
6㎞程度だそうですし、特許の図に
あるように、ある程度のバッテリーは
必要でしょう。
(日経産業新聞の受け売りです)
この技術を実現させるためには、
やはり上の図にあるように、道路に
金属シートを埋め込む必要があります
ので、インフラ的に結構難しいものが
ありますが、それはさておき、原理と
しては、道路に埋め込まれた金属
シートと、タイヤのリボン上金属メッ
シュで作られたスチールベルトとの
間がコンデンサーとなり、電界結合
方式により給電できるそうなんです。
大平先生、インフラ部分では、大成
建設さんと、共同研究を開始している
そうで、東京五輪の2020年までには
実用化する決意のようで、天候面など
の路面状態の影響などもまだまだ
研究課題は多そうです。
それでは、ほかにもこのような研究が
されているのか?というのを調べて
みましょう。
まあ、いろんな技術分類が考えられ
ますが、この特許文献に付されている、
IPCのうちの、
H02J7* 電池の充電または減極または
電池から負荷への電力給電の
ための回路装置
H02J17/00 電磁波による電力給電または
電力配電のための方式
B60L5* 電気的推進車両の動力供給線の
ための集電装置
を使って、いつものように、いいかげん
検索??をおこなってみましょう。
(仕事で分析するときには、きちんと
検索しましょうね!!)
そうすると、ここ10年で見てみると、
2015年は、まだ1か月ありますが、最近、
富に研究が加速されているようです。

出願人の上位10社は、以下のように
なりますよ。

最近の公開は、以下のようになって
いますので、興味のある方は、自分で
内容を調べてみてください。

ということで、大平先生、どんどん
研究をしていただいて、便利な世の中に
してください。
それでは、また。