J-PlatPatを使い倒そう その8 簡易検索で遊んでみよう!!
それでは、今回は、実際に簡易検索を
使って遊んでみましょう。
何という言葉を入れましょうかね。
「空飛ぶ自動車」と「空中自動車」などと
入れてみましょうかね。
そうすると、しめしめ、以下のように
出てきましたね。


ちなみに、この前書きましたが、検索して
いるのは「要約」、「請求の範囲」、「発明
の名称」、「出願人/権利者」、「発明者」の
項目で、明細書の詳細な説明のところは
検索していませんので、以下のように、
発明の名称に検索ワードが入っていない
ものは、要約などに検索ワードが入って
いるんです。

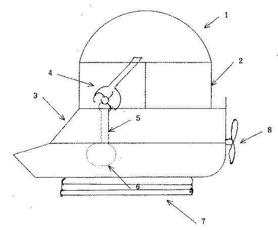
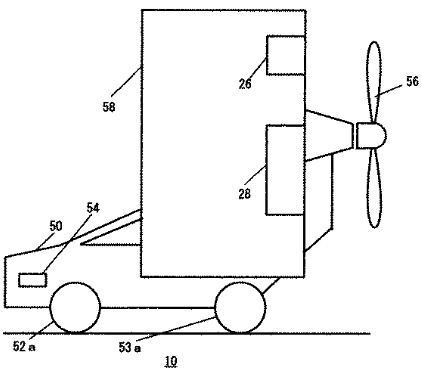
図を貼り付けると以下のようになり
ますよ。



もうひとつ、調べてみましょう。
今度は「水陸両用車」と入れてみましょう。
すると、188件もヒットしました。
上から15件を示すと以下のように
なり、そうそうたる企業から出願されて
いますね。
(この前、1000件を超えた場合、どのように
抽出されて表示されるのかわからないと
書きましたが、1000件以下の場合には、
確実に直近公開のものから表示されます)

試しに、サムソンさんを覗いてみると、
請求項に、いろんな乗り物が列挙されて
おり、ここに「水陸両用車」も記載されて
いるためヒットしています。

今度は、意匠を、「水陸両用車」で
調べてみましょう。

2件とも、以下のように、意匠に係る
物品名でヒットしたんですね。




それでは、最後に商標を調べてみましょう。
今度は、「タイガース」ででも、調べてみま
しょうかね。
(「俺はジャイアンツファンなんだ」、
という方にはごめんなさい。 例として、
タイガースを取り上げただけですので)

上のように128件も出てきましたが、
ちょっと貼り付けると、以下のように
なりますよ。

ちなみに、「タイガー」にすると、502件
ヒットして、タイガー魔法瓶も出てきます。
というように、ゲーム感覚で楽しんで
いるうちに、次第に使い方に慣れてきます
ので、プラピさんを使い倒しましょう。
(「俺は、プレステで遊んでるほうが好き
なんだ」という方や、「あたし、スマホで
ゲームをしてるほうが好きだわ」という方
には、ごめんなさい)
次回は、いよいよ、特許・実用新案調査の
詳細に行きますよ。