USPTO番外編 ワールドカップのVAR特許技術をUSPTOで調べましょ。。。
ワールドカップで日本を救ってくれたVAR
(Video Assistant Refree)システムが話題に
なっていますね。
下の記事によると、1つがKINEXONが開発した
チップを使ったトラッキングシステムでボールの
位置を測定し、もう1つは「ホークアイ」という
技術を使っているそうで。
https://topics.smt.docomo.ne.jp/article/nikkansports/sports/f-sc-tp0-221202-202212020000720
KINEXONのホームページでもその技術を紹介して
います。
https://kinexon.com/blog/fifa-preferred-provider-live-player-and-ball-tracking/
ということで、どんな特許技術を使っているのか、
せっかくですので、現在連載しているUSPTOの新しい
データベースで検索してみましょう。
まずは、ホークアイシステムですが、これは
Paul Hawkinsさんが開発したシステムを使っていま
すので、発明者で調べることにして、この前書いた
ように、
hawkins-paul.inv.
と入れることに致しましょう。
そうすると、以下のようになりますよ。

上の内容を見てみると、文献3番目から6番目が
目的のシステムとなっています。
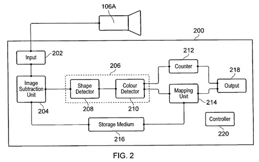
US 20130121538 A1
US 20130120581 A1
US 20130120582 A1
US 20160125242 A1







それではボールのほうの技術はどうなのかを
調べると、以下のようになっています。

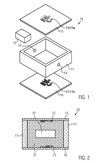
内容を見てみると、一番上のUS11458370B2ですね。

チップをボールの中に入れていて、シュートなどの
ものすごい物理的パワーに耐えられるのかな、と
思っていたのですが、キーは、このショックに耐え
られるようにするというところなんですね。
明細書を読むと、サッカーボールもそうですが、
この発明はアイスホッケーのパックに入れることを
想定して作られており、今までもUS特許4,000,000号、
5,564,698号などでパックの中に、プリント回路基板で
構成された回路と、プリント回路基板の中央に垂直に
積み重ねられたバッテリが含まれており、これらを
柔軟なエポキシを使用して所定の位置に保持する
という特許があるそうです。
また、照明付きホッケーパックUS 2016/0317875 A1
などもあるそうで、アイスホッケーのシュートの力に
耐えられるのであれば、サッカーボールでも大丈夫
ですね。
ということで、この発明は、送信機回路を組み
込んだパックとその製造方法で、電子機器を変位や
損傷から保護するために、パックは層状構造を採用し、
剛性シェルを有するキャリア構造及びキャリア構造に
よって支持された送信機回路、およびキャリア構造
内に設けられたバッテリを含み、中央に配置された
キャビティを有し、バッテリはキャリア構造内に設け
られた第1の弾性材料に埋め込まれていて、キャリア
構造は中央に配置されたキャビティ内に設けられた
第2の弾性材料に埋め込まれているんだそうです。
ボールをモニターするセンサーについてはアディダス
の特開2009-04562、特開2013-063357の「スポーツ用
ボールを有するスポーツ用電子トレーニングシステム
及びそのアプリケーション」や、特開2013-221942
「スポーツボールの運動をモニタする方法およびシス
テム」などがありますよ。



ということで、どんどんVARを使ってもらって、
日本が勝ち進むことを祈りましょう。