音声によるストレス計測、MIMOSYS

商標登録5656868
権利者:PST株式会社
指定商品:電子計算機用プログラム
ということで、この前行った、イノベ
ジャパン2017で出展されていた、
MIMOSYSの話です。
(MIMOSYSは、Mind Monitoring
Systemの略だそうです。)
もらったカタログでは、「現代社会に
おいて、ストレスからくるメンタルヘルス
不調が問題となっており、うつ病の発症
や離職を招いて」いるそうで、「これを
非侵襲で、特殊な専用装置を必要と
せず、手軽にに行える利点を活かし、
スマホで声から元気の程度を測るアプ
リを開発」したそうで、「音声による
ストレス計測」だそうです。
どんな発明なのか調べると、特許出願は
2つあり、特許5755791(特開20150128579)
「推定装置、プログラム、推定装置の作動
方法および推定システム」、特開2017-140170
「推定方法、推定プログラム、推定装置および
推定システム」だそうですので、特許を見て
みましょう。
【課題】
専門的な知識を有することなく、被験者の
病態を容易に推定できる推定装置を提供
する。
【解決手段】
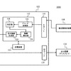
被験者の生理を示す情報から、被験者の
生理の状態を示す第1情報と被験者の
情動および器官の活動の少なくとも一方を
示す第2情報とを抽出する抽出部EUと、
抽出した第1情報と第2情報とが示す時間
変化における類似の度合いを求め、求めた
類似の度合いに基づき被験者における
恒常性が保たれた所定状態からのずれ量を
算出する演算部CUと、算出されたずれ
量に基づいて被験者の病態を推定する
推定部AUとを有する推定装置AMで
ある。







ということで、パンフレットによると、PST
さんと、日立システムズさんで、MIMOSYSを
使い、クラウドサービス「音声こころ分析サー
ビス」を開始したそうで、いろんな研究がある
もんですね。
音声こころ分析サービス MIMOSYS:株式会社日立システムズ