トレンドマスターさんの、なでなでねこちゃん、なでなでワンちゃん
ネコ型ぬいぐるみロボット「なでなで
ねこちゃんDX2」というのが販売されて
いますが、頭を撫でられると「にゃ~」、
頭を触ると「にゃ~ぉ」、あごを撫でら
れると「ごろごろ」、背中を撫でられると
「みゃ~ぉ」、尻尾を撫でられると
「ニャン」というように、いろいろ反応
するそうです。
なでなでねこちゃんDX2シリーズ | trendmaster
発売当初は子供のおもちゃを想定して
いたんだそうですが、癒やされるという
ことで、高齢者やペットを飼えない人々に
人気が広がり、2012年のシリーズ発売以来
5年間で6万個が売れているんです。
(と、新聞に書いてありました。)
川崎市から優れた福祉製品として認証
されているそうで、熊本地震のときは、
高齢者施設や保育園に無償で送った
そうですね。
税込み6,458円、対象年齢3歳以上
だそうで、「なでなでワンちゃん」という
のも1月に発売されたそうです。
この会社は、トレンドマスター株式会社、
設立2011年、本社は神奈川県川崎市、
事業内容は、オリジナル商品、.PB・OEM
商品、.玩具雑貨等だそうで。
ということで、特許等を調べると、実用
新案なんですね。
考案の名称は「音声応答玩具」、実登
3174423、登録は2012年2月29日で、以下の
ようになっています。(年金不納により、
権利は2015年2月28日で切れていますが。)
【課題】
使用者が触れることで音声応答を行う音声
応答玩具に関し、娯楽性の高い玩具を提供
する。
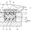
【解決手段】
本体1の中に設けられた静電気感知センサ2
からの信号を受信し、受信信号のパターンに
対応して音声応答をスピーカ3より出力する制
御装置4を備える。静電気感知センサが読み
取った様々な信号に対応した音声応答を
行うことで、娯楽性の高い玩具を実現する
ことができる。


ということで、今後は、「猫忍」とか、
「おしゃべりインコちゃん」、「こんにちは
赤ちゃん」、とかいろいろな商品の企画を
しているそうです。