メディカルフォト ニクスさんの採血いらずの中性脂肪測定
この前、採血せずに血糖値測定を
おこなうという方法を上のように書いた
ばかりですが、今度は、日経新聞に、
「中性脂肪測定採血要らず」という記事が
出ていますね。
札幌のベンチャーメディカルフォト
ニクスさんの発明だそうで、上の血糖値
測定と同じように近赤外光を使うそうで。
WEBを調べると、なるほど出ていますね。
上に書かれているように、北大発のベン
チャーだそうで。
私の血液も、きっとドーロドロだと思い
ますので、どんな発明なのか、ちょっと調
べてみましょう。
発明は、2016年5月18日出願で、
早期審査をおこない2016年11月24日
公報発行の特許6029128「血中脂質
計測装置及びその作動方法」という
もので、不思議なことに、それから1年
以上経った2017年11月24日に、
特開2017-205264として出願公開も
されています。
特許法の64条というところで、特許
掲載公報の発行がされたものは、出願
公開準備中の例外を除き、出願公開は
されないとなっているのですが、1年前
から準備中だったというのもおかしい
ですので、特許庁さんに理由を聞いて
みたいものですが、それはさておき、
発明は以下のようになっています。
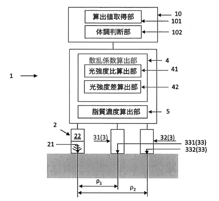
【課題】
非侵襲脂質計測により、リポ蛋白中の
脂質の個々の濃度を測定する装置及び
その方法を提供する。
【解決手段】
生体外から生体内に向けて所定の光
強度で、第1の波長の照射光、及び、
第2の波長の照射光を照射する照射
部と、照射した第1の波長及び第2の
波長の照射光の光強度の照射検出間
距離に応じた減衰を計測するために、
照射部による光の照射位置から所定
間隔をあけて、あるいは、連続的に
配置されて、生体から放出される第1の
光強度及び第2の光強度を検出する
光強度検出部と、光強度検出部により
検出された第1の光強度及び第2の
光強度に基づき生体内における第1の
散乱係数及び第2の散乱係数をそれ
ぞれ算出する散乱係数算出部と、第2
の散乱係数の変化量に基づき、血液
内の第2の脂質群の濃度の変化量を
算出し、第1の散乱係数の変化量に
基づき、第1の脂質群の濃度の変化
量を算出する脂質濃度算出部とを有
する。

そのうち、血液検査なしで、いろんな
血中内容の測定ができるようになることを
祈りましょう。