TOTOさんのベッドサイド水洗トイレ
この前、新聞を見ていましたら、TOTO
さんのコマーシャルが出ていて、ベッド
サイドにおける水洗トイレというのがあり
ました。
以下を見ると、2017年10月発売と
なっていますので、発売されたばっかり
なんですね。
ベッドサイド水洗トイレ | トイレ | 福祉機器 | 商品を選ぶ | TOTO
新聞には、工事費別でメーカー希望
小売価格、398,000となっていましたが
(EWRS320)、やはり、トイレに備え付
ける水洗トイレよりは高いんですが、
いますので、少しお安くなるようです。
特許出願を調べると、ベッドサイドに
置く水洗トイレの課題は、トイレットペー
パー以外の異物が誤って流された場合の
詰まりだそうで、これを解決しているん
だそうですね。
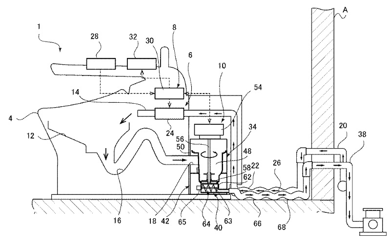
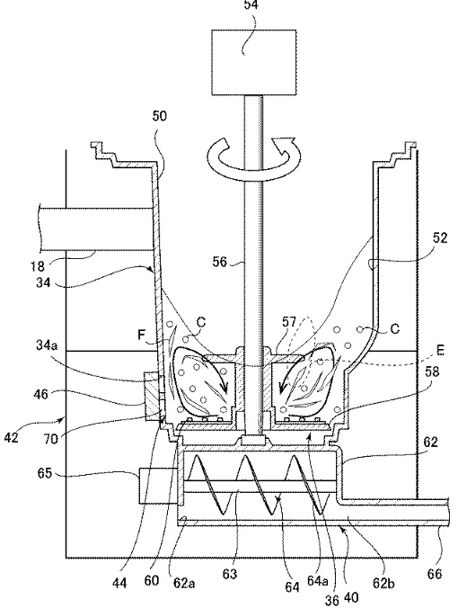
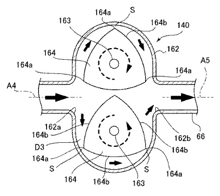
・ 特開2017-14698「非据付け型水洗
圧送式大便器装置」
【課題】
繊維物を生じさせるような異物を投入
しても、圧送装置において繊維物を絡まり
合って大きく成長させること及び詰まらせ
ることを抑制しがら圧送することができる
非据付け型の水洗圧送式大便器装置を提供
する。
【解決手段】
居室のベッドサイドにも配置可能な非据
付け型の水洗圧送式大便器装置1であって、
水洗大便器と、粉砕圧送装置10とを有し、
粉砕圧送装置10は、粉砕部34と、駆動
手段と、排出口と、圧送装置と、を備え、
粉砕圧送装置10は、汚物及び異物を
粉砕部34内で水の攪拌によって分解
するように構成され、繊維状まで分
できた繊維物を汚水中に含めて圧送
装置40に排出させ、圧送装置40は、
汚物及び繊維物が混入した汚水を、
水の攪拌を生じにくくするように容積式
ポンプ64によって可撓性の排水ホース
68に圧送する。





圧送装置などを備えているので、どう
しても値段が高くなってしまうのでしょ
うが、これからますます高齢化が加速しま
すので、研究開発のほうも加速していただ
いて、どんどん安くしていって欲しいもの
です。