知財アナリストのひとりごと

特許情報分析・知財戦略をやさしく解説します

2016-10-29から1日間の記事一覧

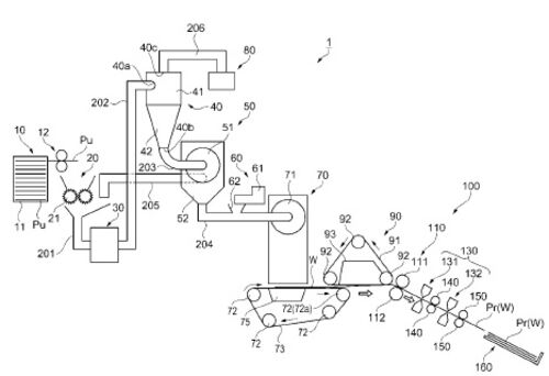
エプソンさんの日本イノベーター大賞、ペーパーラボ

日本イノベーター対象というのが発表 されていますね。 http://corporate.nikkeibp.co.jp/information/newsrelease/20161025.shtml セブン・ドリーマーズさんのランド ロイドは、この前調べましたので、 今回は、大賞受賞のセイコー市川さんの、 オフイス内…