金属イオンで、おならの臭いを分解しましょ。。。
パンツ、どこのメーカーのもの使って
ます?
私は、どこのメーカーのパンツを履いて
いるのかわからなかったので、ズボンを
ずり下げて(汚いですね)、見てみました。
(オフィスでやると変態になっちゃいますので、
ちゃんと自分の家の部屋でやっていますよ)
パンツのメーカー名って、ズボンをずり
下げてもすぐにはわからないんですね。
(すぐにわかるものもあるんでしょうが)
よくよく見てみると、「G.T.HAWKINS」
(しかも中国製)となっていました。
G.T.HAWKINSってどこだ?ということで、
調べてみると、なんか、以下のように、
1850年創業の会社だそうで、ずいぶん
歴史のあるパンツを履いてたんですね。
(パンツが古いわけではありませんよ)
http://www.gt-hawkins.net/history/
ということで、「今日は、G.T.HAWKINSの
話をすんのか?」ということなのですが、
ちょっと違って、パンツつながりの話です。
この前、セーレンさんから、におわない、
「Blue Pants」誕生というのが発表されて
いました。
「父の日に青いパンツ!?
お風呂上がりのにおわない清潔さ」
だそうですが。
と、いかにも知ってるような書き方を
しましたが、実はセーレンって何だ?と
いうところで、私は全く知らない会社な
わけでして。
ということで、調べてみると、セーレンさん、
一部上場の企業だったんですね。
会社四季報によると、自動車用シート材
大出、エアバッグも作っており、スポーツ
用衣料OEMも強く、独自技術で化粧品も
育成しているそうです。
ホームページは以下となり、創業1889年
(こちらのほうも古いんですね)、本社東京
及び福井市、資本金約175億円、2015年
3月期の連結売上高約1,038億円、連結
従業員数5,802名という会社で、HPにある
事業内容は、繊維品染色加工、化学工業品、
産業機器、電子部品となっています。
ということで、パンツの話に戻って、HPを
覗いてみると、デオエストという高性能消臭
アンダーウエアブランドを持っているそうで、
消臭の仕組みなどの説明もありますね。
https://shop.seiren.com/ec/sp/slist/deodorant_mechanism
商標登録を調べると、以下の商標が登録
されており(登録5680711号)、おむつ,おむつ
カバー,ガーゼ,胸当てパッド、医療用機械器具,
医療用手袋,病人用差し込み便器、家具,
クッション,座布団,まくら,マットレス,屋内用
ブラインド,屋内用ロールスクリーン式ブラインド,
額縁,スリーピングバッグ,つい立て,びょうぶ,
愛玩動物用ベッド,犬小屋,小鳥用巣箱
裏地,ビニルクロス,ラバークロス,レザークロス,
ろ過布,かや,織物製壁掛け,シャワーカーテン,
のぼり及び旗(紙製のものを除く。),介護ベッド
用マットレスカバー、インソール,セーター類,
和服,ネクタイ,マフラー,ネッカチーフ,
耳覆い,水泳着,水泳帽,キャミソール,
ティーシャツ,ナイトキャップ,帽子,げた,
草履類、敷物,畳類,洗い場用マット,人工芝,
体操用マット,壁掛け(織物製のものを除く。),
壁紙などにこの商標を使うと怒られますよ。

商品説明では、特殊セラミックスナノ粒子で
ニオイを吸着し、金属イオンでニオイを分解する
そうですが、デオエステブランドには、男性用
だけでなく、レディース用消臭ショーツなども
あるんです。
HPの開発秘話によると、介護や医療の
現場の「ニオイ」改善から始まり、医療・
介護用として2008年7月に発売を開始した
そうですが、過敏性腸症候群の患者の方々
で、望まないときに出てしまうおならの
ニオイに悩んでいる方、汗のニオイや加齢臭
など、さまざまなニオイに悩んでいる方からの
お問い合わせが多くあったとのことです。
(まあ、くさいおならとカレー臭の王花陣に
とっては朗報ですが、残念ながら、使った
ことはありませんので、私のほうで、効能を
保証するものではありませんので、念のため)
それでは、どのような内容なのか、特許
出願を調べてみましょう。
HPでは一般向けのシリーズが2009年
4月に誕生したとなっていますので、優先日
2008年12月、国際公開WO2010/074311、
(残念ながら日本では拒絶になっています)
発明の名称「消臭性繊維製品」というもの
でしょう。
最近のものでは、特開2015-034366「消臭
性繊維布帛」というのが出ていますので、
この内容を見ると、
【課題】汗臭の主要成分であるアンモニア、
酢酸、イソ吉草酸に対しての消臭効果、
なかでも汗臭の主原因であるアンモニアに
対しての速効性に優れた消臭効果、および
吸水速乾効果を併せ持ち、さらには繰り返し
洗濯しても優れた消臭効果と吸水速乾効果
とを維持できる、スポーツウェアをはじめと
する様々な分野に適応できる消臭性繊維
布帛を提供する。
【解決手段】複合被膜層の内層が親水性樹脂
からなり、複合被膜層の外層が二酸化ケイ素
と酸化亜鉛との複合物を含むバインダー樹脂
からなる、複合被膜層を有する消臭性繊維
布帛であり、洗濯20回後のアンモニアガスの
30分後の消臭率が70%以上、洗濯20回後の
吸水速度が20秒以内、洗濯20回後の拡散性
残留水分率10%に至る時間が50分以内で
ある消臭性繊維布帛。
なんだそうです。
尚、商品発表PDFに、「銭湯の鏡にAR
センサーによる銭湯メディア「Blue Pants
Mirror(ブルーパンツミラー)」を設置。この
ブルーパンツミラーの特徴は、男性の腰回り
の動きに反応し、鏡の中の腰の位置に
パンツを映し出す世界初」というのが書かれて
いますが、特許出願2008年9月、特開2010-
070889、特許登録5210102号「仮想試着
装置」というもののようですよ。

説明では、
【課題】不特定多数のユーザに合せて
簡単に着装状態を仮想的に表示することが
できる仮想試着装置を提供する。
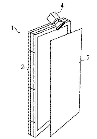
【解決手段】仮想試着装置1は、ハーフミラー3
及びその背面側に設けられた表示デバイス2
を備えており、表示デバイス2の上方には、
ハーフミラー3の前方に位置するユーザを
撮影するカメラ4を備える。位置検出用
マークを表示した衣服を着用したユーザを
カメラ4で撮影し、位置検出用マークの
検出位置に基づいて服飾画像をハーフ
ミラー3上に鏡像と重ね合わせて表示
する、
んだそうです。
ということで、今回発売の、「ブルーパンツ」
は税込3,290円だそうですので、貧乏人の
王花陣は、「G.T.HAWKINS」のほうで、
おならをごまかすことに、致しましょう。
すんません、尾籠な話で。
