Orthobot
商標登録5944933 5944934
標準文字商標:Orthobot・オルソボット
商標権者:サンコール株式会社

ということで、イノベジャパン2017で
出展されていた歩行の運動支援装置、
Orthobotの話です。
パンフレットによると、「脳卒中後片
麻痺患者などの歩行に障害をお持ちの方の
リハビリ用として、正しい歩行の学習の
支援を行う装置」だそうで、「従来のリハ
ビリロボのように、運動を補助するのでは
なく、運動の学習を補助する」んだそう
ですよ。
(上の文言は、パンフの文言から多少省略
しています。)
どんなロボットなのかは、以下をどうぞ。
http://www.coi.kyoto-u.ac.jp/report_arch/201706_02
どんな発明なのか、2017年8月17日
出願公開ほやほやの特開2017-140303
「長下肢装具用アクチュエータユニット」
見てみると、以下だそうですよ。
【国等の委託研究の成果に係る記載事項】
(出願人による申告)平成27年度、国立
研究開発法人科学技術振興機構 研究成果
展開事業 センター・オブ・イノベーション
プログラム『活力ある生涯のためのLast
5X イノベーション』委託研究開発、産業
技術力強化法第19条の適用を受ける特許
出願
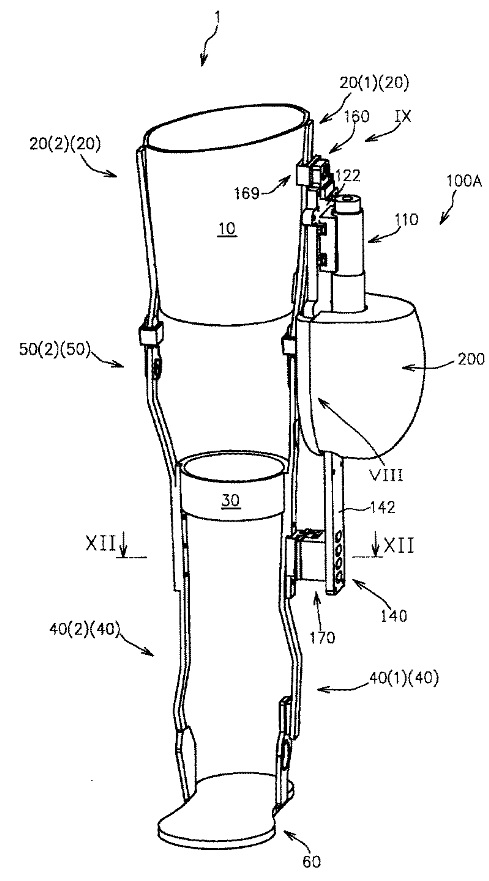
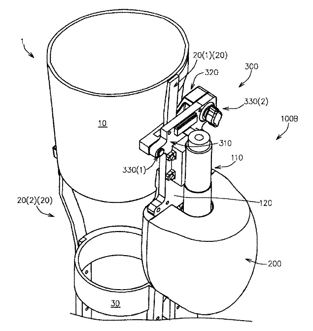
【課題】
ユーザーの体格に合わせてオーダー
メイドされた種々の長下肢装具に装着
可能なアクチュエータユニットであって、
当該アクチュエータユニットの枢支軸線
と長下肢装具の揺動軸線とを確実に
位置合わせさせた状態で長下肢装具に
装着可能な長下肢装具用アクチュエータ
ユニットを提供する。
【解決手段】
本発明のアクチュエータユニットは、
長下肢装具の上腿フレーム及び下腿
フレームにそれぞれ連結可能な上部
フレーム及び下部フレームと、前記
上部及び下部フレームを枢支軸線
回り回動可能に連結するアクチュエータ
側回動連結部と、下部フレームを枢支軸
線回りに回動させる駆動力を発生する
駆動体と、上部フレーム及び下部フレー
ムをそれぞれ上腿フレーム及び下腿
フレームに連結させる上部連結体及び
下部連結体と、アクチュエータ側回動
連結部を装具側回動連結部に同軸上
で連結させる回動中心連結体とを備える。




見たところ、随分堅固な装置のように
見えますが、どれぐらいの重さなんで
しょうね。