出野徳治さんって誰???
「知っとるけ」シリーズの第5弾です。
出野徳治さん、知ってます?
出川さんなら、よくテレビで見かける
のですが・・・・。
この方は、100年以上続く超有名企業の
創業者の方なんです。
現在の会社は、本社大阪、2014 年の
連結売上高2兆7,862億5,600万円、
連結従業員数49,418名で、連日新聞を
賑わせていますし、テレビコマーシャル
などバンバン流れています。
この方は発明家でもあって、元来、
ズボンを止めるベルトは、孔にピンを
通す方式と、孔がなくてもそのまま止め
られるバックル方式があるのですが、
出野さん、日本で初めて孔がなくても
止められるバックルを考案し、明治
45年に出願し、大正元年に実用新案の
登録がされたんです。
(登録25356号です)

ということで、この方のおかげで、
今でもこのバックルのお世話になって
いる方が大勢いるわけですね。
(現在の仕組みはちょっと違いますが)
どうです?どこの企業の創業者の
方かわかったでしょう?
えー、まだわからない?
ということで、次の発明は以下となり
ます。

これは釘のようですが、シャーペンの
中身です。
出野徳治さんは幼少の頃に出野家に
養子に出されましたが、このシャーペン
の頃には、元の姓名に戻し、「早川
徳次」さんとなっていました。
ということで、シャープという企業名称
名づけられたことは超有名で、シャープ
の創業者の方だったんです。
(現在は、「シャープペンシル」という名の
しまったので、これから登録しようとしても
ダメですよ)
ちなみに、ウィキなどには、「1915年に
「早川式操出鉛筆」の名称で特許を
申請」とか「1915年に「早川式操出鉛筆」
として特許を取得」とか、いかにも、
1915年に特許を出願し取得した、と読める
ような文章がありますが、残念でした、
1915年には特許も実用新案も取得
されてないんです。
(暇な人は、特許や実用新案の検索を
おこなってもらってもよいですが、
むなしく、「そんなのないもんねー」と
返って来るだけですよ)
シャープさんの社史などにも1915年に
特許を取得したなどと一言も書かれて
おらず、社史の「1915年にシャーペンの
金具を受注し、芯を押し出す構造を完成
させた」と時系列が書かれていない文章
のため、ウイキなどでは「1915年に特許
取得」のような文章になっているので
しょう。
それでは、「早川式操出鉛筆」という
のはどのようなものなのか、見てみま
しょう。

登録は、1920年、実用新案ですね。
この時代、同じような発明や考案を
出願する場合、「改良」とか、「第一号」、
「第二号」とか、つけるものが多く、
さらには、明細書にもそのような
記述がありませんので、シャーペン
全体としての登録は、この登録が
最初と思われます。
(部品などの出願はあるのかもしれ
ませんが)
尚、この時代の「発明の名称」のつけ
方の流行?は、名字を名乗って、「早川
式」とか、姓名の頭文字を取って、
「HT式」とかとするのが半数近くでした。
(現在は、こんな付け方をすると、
「ダメだよねー」とか特許庁さんに怒られ
てしまいますので、注意しましょう))
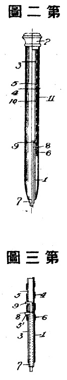
ということで、上の第一図は、内部機構
となっていて、下の第二図が外側、
第三図が内部詳細となっています。

芯が押し出される機構は、頭部の2を
回転させることによって、横に出っ張った
9が螺旋に沿って下に動き、芯が押し
出される機構となります。
従来は、芯が短かくなると、針金とか
使って取り出さなければならなかったの
ですが、この考案では、そんなことを
しなくてもよくなったんですって。
ということで、早川さん、最初は東京市
(古いですね)本所でシャーペンで成功を
収めたのですが、残念ながら、1923年
9月1日に関東大震災が起きて、一切の
実用新案権や、機械一式など譲渡せざる
を得なくなり、大阪で再起を誓ったわけ
でした。
以下が、早川さん、最後のシャーペン
出願の米国特許となります。


出願が大震災の前の7月で、これ以後、
震災により、出願どころじゃなくなったん
ですね。
それでは、また。