玉ジローさんの全自動玉ねぎ皮むき器
「玉ジローって何だ?」というところ
ですが。
「玉ジロー」という会社があるんです。
この会社は、正式名称「株式会社玉
ジロー」、代表はジローさんではなくて、
設立平成9年、資本金が4,500万円、
社員が5名、営業種目は、食品加工
機械の開発、販売、となっています。
食品加工機械といっても、玉ねぎ加工
機械なわけでして、何で、玉ねぎ加工機械
なの?というと、この会社、キッチンジローと
いう総合フードビジネス、洋食レストラン
チェーン(キッチンジロー、洋食屋キッチン
ジロー他)、弁当惣菜製造販売などを
手がける会社のグループ会社なんです。
http://www.kitchenjiro.co.jp/index.html
こちらのキッチンジローのほうは、会長
さんが「二郎」さんで、沿革にも一部紹介
されていますが、洋食屋さんでは、ハン
バーグやコロッケ、カレーなど玉ねぎが
欠かせないんですが、一日に2000個もの
玉ねぎの皮むきが必要で、パートさんに
皮むきをやらせても、目が痛くなったりして
すぐパートさんに辞められてしまうという
問題があったそうなんです。
このため、社長を譲って暇を持て余して
いた会長のジローさんが、平成4年に
ポケットマネーで玉ねぎ皮むき機の開発に
着手し 試行錯誤を繰返し、21号機目で
やっと完成したんだそうです。
かかったお金は2億円だそうですが、
(と、テレビで言っていました)下の
URLでお値段を見ると、21型が220万円で、
会長さん、随分お金を持っていたん
ですね。
http://www.tamajiro.com/product/index.html
販売実績を見ると、300件以上だそうで、
売れているんですね。
http://www.tamajiro.com/example/index.html
ということで、 さぞや昔から特許出願
していたんだろうなと思うと、さにあらず、
出願が2014年の9月、登録が2015年の
2月という、最近になってやっと完成
したんでしょうか?
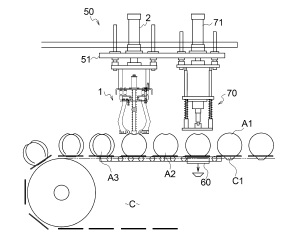
玉ジローは、全自動玉ねぎ皮剥き機な
わけですが、皮をむいたり、根をドリルで
くり貫き、同時に下のヘタをカッターで
切り落としたりするんです。
登録特許は、特許第5690441号「玉葱の
表皮剥離装置」となっていて、以下の
ようになっています。
【請求項1】
前後一対で平行する回転軸にそれぞれ
設けた前後一対のローラ上に表皮にスリットが
形成された前処理済みの玉葱を載置し、
前記ローラの回転で玉葱を転動させ、
該転動中の玉葱に上方から圧搾空気を
吹付けて表皮を剥離させる玉葱の表皮
剥離装置において、前記ローラが、外側と
なる左右の側面から中央よりに漸次
小径となって玉葱と接触する接触面を
有しており、該接触面に部分的に隆起部を
設けて、ローラ回転時に玉葱を跳ね上げ
るようにしたことを特徴とする玉葱の
表皮剥離装置。



ということで、「必要は、発明の母」とは
よく行ったもんです。