サンテクノ久我さんの、はも骨切り名人
昨日、テレビで、食品ロボットというのを
やっていましたね。
包あんロボの火星人CN580、すしロボ、
はも骨切り名人、という3つの会社の
製品が取り上げられていましたが、包あん
ロボのレオンさん、すしロボの鈴茂さんは、
以前に書きましたので、今回は、はも
骨切り名人ロボを取り上げてみましょう。
このロボットを作っているのは、愛媛県
新居浜市の「有限会社サンテクノ久我」さん
で、昨日のテレビでは、ここの社長さんの、
久我高昭さんが出演していました。
このサンテクノ久我さんは、水産関連
機器を手がけるホクト(新居浜市)から独立
して2004年に設立したした会社だそうで、
はも骨切り名人ロボは、以下のようになって
います。
http://www.suntechno-kuga.co.jp/h_honegiri.html
まあ、ハモは小骨が多いため、独特の
骨切りが必要になるわけですが、包丁を
数ミリおきに入れて、骨だけ切って皮を切ら
ずに残す技術で、習得には年月がかかるん
だそうですね。
このため、ハモがスーパーなどに流通しな
かったわけですが、このロボットを導入する
ことで、スーパーなどでもハモを売ることが
できるようになったんだそうです。
第1号機は2007年だそうで、流れるベルトに
ハモを乗せて、コンピューターで制御し、細長い
鋼製の刃を包丁で引き切りするように動かし、
切り込み間隔を0.1ミリ単位で調調整し、
料理人のような切り口を再現したそうで。
このサンテクノ久我さん、ハモ切りだけで
なく、以下のように、フグ関係、フルーツ、
乾燥機、うろこ取り、カキクリーナー、
さらには、健康関係での腰椎矯正装置まで
作っているそうですね。
http://www.suntechno-kuga.co.jp/
久我さんは、ホクト時代の発明もあり
ますが、サンテクノ久我としての発明は
以下のようになりますよ。

はもの骨切りロボ関係の特許4940077
と特開2014-223715を見てみると以下の
ようになるんです。
【課題】
刃物が引き切り相当の動きをし、魚肉などの
刺身や切り身等のカット調理を上手に行い、
鱧の骨切りなどの繊細なカット調理も、料理人
の腕前に依存することなく適切に行えるように
すること。
【解決手段】
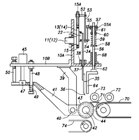
回転軸11、12の回転により平行姿勢を保って
円軌跡運動を行う円軌跡運動部材15と、円
軌跡運動部材15に設けられた直線ガイド
部材20、21に案内されて直線移動する
スライダ22をクランク機構(23、24、26)に
接続された滑りクランク装置と、スライダ22に
取り付けられた刃物36と有し、回転軸11と
前記クランク機構とを同期回転駆動する。



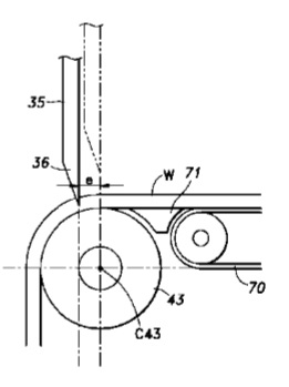
【課題】
切断加工を要する食品等の被切断物に
おいて、良質の切断面を得る切断を可能
とする。
【解決手段】
水平方向の動作と垂直方向の動作とを合成
した上下動作又は垂直方向だけの上下動作を
行って被切断物17を切断する刃物3を備えた
切断装置であって、刃物3の刃先21に対向
する切断位置9の回転方向における上流側
11と下流側12の外周面10を被切断物17の
載置領域として設けた回転する円筒状ドラム1
と、円筒状ドラム1を回転駆動させる駆動手
2とを備える。


このほかに、特開2011-172558はフルーツ
関係、特開2009-279695は、刺身やすしネタ
作製などとなりますよ。