株式会社ニッコーさん
昔、「忍者部隊月光」というテレビ番組が
ありましたね。
忍者部隊に出てくる正義の味方は、
皆、月という字が名前に入っており、
「三日月」は、きれいなおねーさん
でしたが、まだご存命なのでしょうか。
まだ、わけのわからない鼻たれ小僧
でしたので、木の枝を背中にしょって、
「そーらーをー飛び、かーぜーをー切り、
すーすみーゆくにーんじゃー、せーいー
ぎーのーみーかたー」などと歌いながら、
暗くなるまで真っ黒になって遊んでいた
ものです。
などと話しても、「何、わけのわからねー
話をしてんだよー。俺は若いからそんなの
知らねーよ。」などと言われるのが落ちな
わけでして。
ということで、今回は、月光の話では
なくて、株式会社ニッコーさんの話なん
です。
と言っても、「株式会社ニッコー」と
いう会社は非常に多く、試しにヤフーで
「株式会社ニッコー」と打ち込んで
みると、炭素鋼鋼管などのニッコーさん、
水産機械のニッコーさん、自動車用
ブザーのニッコーさん、有機農法冷凍
食品のニッコーさん、人材派遣の
ニッコーさん、など、これでもかと
いうぐらい出て来るわけでして。
じゃあ、今日は、どのニッコーさんの
話なんだ?というと、北海道のニッコー
さんの話なんです。
北海道のニッコーさんの本名??は、
「株式会社ニッコー」、本社釧路市、設立
1977年、資本金は3千万円、従業員数
85名、事業内容は食品・水産・食肉・農産・
各加工機械の企画開発、製造販売、と
なっています。
モノ作り中小企業300社2007度」などに
選定されており、特許取得活動に熱心な
会社です。
中小企業庁:元気なモノ作り中小企業300社:株式会社ニッコー
ということで、特許権取得に熱心な会社
ですので、HPでもトータル数とか、出願中
とかそれぞれ書いてあるんです。
http://www.k-nikko.com/company/
http://www.k-nikko.com/productlist/salmon/
たとえば、サケの切り身を作る機械は、
まずは、魚の頭を切り下すオートヘッダーや
サケの頭をカマごとカットするカマレスヘッダー、
胸びれ、背びれ、腹びれ、尾びれを切り落とす
フィンカッター、内臓を取り除くガッターマシン、
3枚におろすバンドフィッシャー、レーザー
スキャンで魚体を計測し、モニターには切断
イメージが表示され、スキャンされた情報が
ロボットアームに転送され、すべての切り身を
同じ重さに切ってしまう、スーパープロフェッ
ショナルなどなどいろいろあるんです。
切り身装置はこの会社が世界初だそう
ですよ。(と、テレビで言っていました)
最近の20件を抜き出すと、以下のような
出願、及び特許となっていました。

発明者はほとんどに社長さんの佐藤厚
さんが入っていますので、社長さん自ら、
特許権取得に熱心なんですね。
ちみに、すべての切り身を同じ重さに
切る「スーパープロフェッショナル」と
いうのは、特許4090284号「切断装置」と
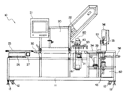
いう以下のようなものになります。
【課題】生の魚体のような柔らかい被切断
物を被切断物を所望の重量を有する切断
片に極めて精度よく切断して商品価値の
高い切断片を得ることができ、しかも、
被切断物を無駄なく有効に利用すること。
【解決手段】3次元的移動を行いうるように
配設され被切断物1を切断するカッタ55と、
カッタ55が遊挿される直線溝45が形成され、
回動しうるように配設され被切断物1を載置
する可動載置板39と、可動載置板39の
直線溝45の近傍において被切断物1を
負圧により固定する負圧吸着手段50と、
昇降ならびに水平移動しうるように配設
され被切断物1を複数本の針66により
刺して保持する保持機構と、被切断物1の
重量を計量する重量計量手段25および
被切断物の体積を計測する体積計測
手段30による被切断物1の重量および
体積に基いて被切断物1の切断条件を
設定する制御部20とを有しする切断装置。
