山口さんちのエルマー・A・スペリー賞
昔、「山口さんちのつとむくん」という歌が
ありましたが、こちらのほうは、エルマー・
A・スペリー賞受賞の山口琢磨さんの話
です。
山口さんって誰だ?というのは、以下を
見てもらうこととして。
http://www.mrpartner.co.jp/business2014/local/01.html
さらに、エルマー・A.スペリーって誰だ?と
いうのは以下の方だそうですよ。
この山口さん、押し船連結装置で、この
賞をもらっているそうで、本日の所さんの
番組で紹介されるそうです。
(エルマー・A・スペリー賞とは、運送技術
発展に貢献した人に授与されるそうですが)
ということで、酒を飲みながら馬鹿笑い
しながら番組を見る前に、今でも出されて
いる山口さんの特許などを下調べしておく
ことに致しましょう。
検索してヒットしたものを見ると以下の
ようになっていました。

さらに昔のものはないかいな?ちゅう
ちゅうたこかいな?いかかいな?と調べると、
・ 特許10004616「押し船と艀との連結装置」
出願昭和47年(1972年)3月6日
・ 特許1145226「押し船と艀との連結装置」
出願昭和49年4月15日
・ 実登1684943「押し船と艀との連結装置」
出願昭和56年4月10日
などがありますね。
その前にも、特願昭45-89682の「押し船と
艀との連結装置」というのもありますが、これを
改良して、「吃水に関係なく 簡単な操作に
よって両船を確実に連結でき、波浪中を
航行する際には押船と艀との相対的縦揺れ
運動を許容しないことで航行を安全かつ容易に
した」という、特許10004616の、「発明の
詳細な説明」を見てみましょう。
「本発明は押船船団等における押船と艀
(はしけ)との連結装置に関するもの」だ
そうで、以前は、「押船と艀との連結には
従来大部分はロープを使用する方法が
採用されているが、この方法では、波浪中を
航行する際に両船の接触部分、すなわち
艀の船尾と押船の船首との間の相対的
上下運動を防止することが不可能で、
そのため両船の間に設けられる緩衝材の
消耗がはげしく、またロープを掛ける位置に
よっては両船の相対的ピッチングによって
ロープに過大な張力が作用することがあり、
これらは押船船団の波浪中航行の困難で
あることの要因をなしている」んだ
そうです。
ということで、これを解消するために、
上の特願昭45-89682が出願され、さらに
改良特許10004616につながったそうですよ。
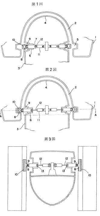
図を貼り付けると以下のようになりますが、
これだけではよくわかりませんので、まあ、
べろべろに酔っ払いながら、所さんの
番組で確認することと致しましょう。

