知財アナリストのひとりごと

特許情報分析・知財戦略をやさしく解説します

アイボールテクニカルピッチで大谷君のようになろう!!

oukajinsugawa.hatenadiary.jp

 

 以前に上のように書きましたが、簡単に

測定できるようになってきたそうですね。

 

 投球のキレや伸びを左右するのは回転数・

回転軸なんだそうで、これを計測し、

スマホタブレット端末で確認できる小型の

機器が2017年に登場し、冬の練習から

プロ野球球団やアマチュア選手が使い始

めているそうで。(と日経電子版に出て

いました。) 

 

 まあ、球のキレや伸びというのは感覚的

なものだったわけですが(といかにもわかっ

ているようなことを書いていますが、プロ

野球選手でないため、さっぱりわかりま

せん、です、はい。)、ついに本格的に、

回転数や回転軸がわかるようになって

来たそうで。

 

 まあ、今までは、プロ野球では球場据

置き型の高額な機械があったそうですが、

個人でも使えるようなものが出てきたそう

ですね。

 

 ということで、ソフトウエア会社のアクロ

ディアさんがアルプス電気さんと組んで開発

した「アイボール テクニカルピッチ」は、

ボール型で約3万円だそうで。

 

technicalpitch.net

 

prtimes.jp

 

 ボールの軌道をレーダーとカメラで測定

する「ラプソド ベースボール」は米国

Rapsodoさんの製品で55万円からだそう

ですね。

 

www.datastadium.co.jp

 

 そのほかにもWEBを検索すると、ミズノさんの

記事なども出てきます。

 

http:// http://www.itmedia.co.jp/business/articles/1801/18/news137.html

 

 ということなので、どんな技術なんだ?と

いうのを特許出願から見てみましょう。

 

 まずはアクロディアさんです。

 

・特開2017-221690、再表2017/131133

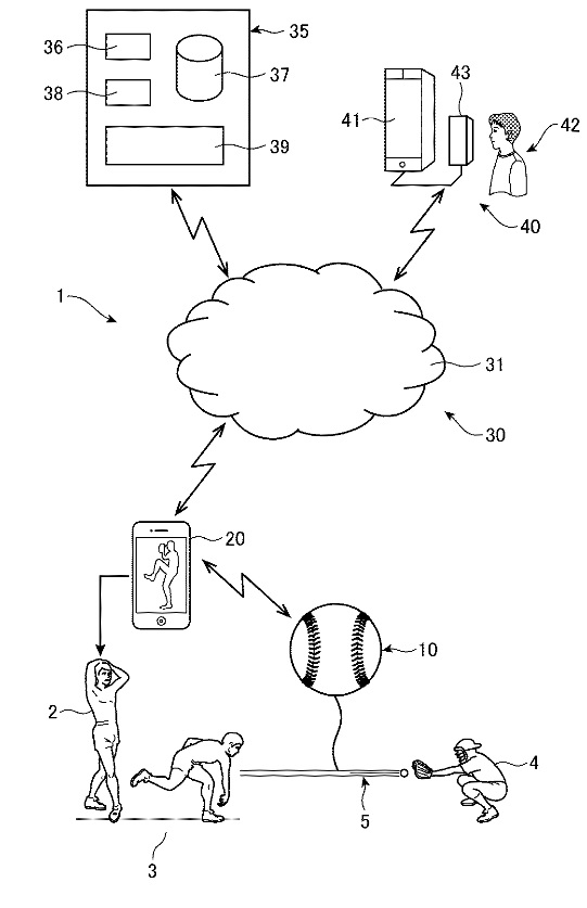
「センサーを内蔵したボールを含むシステム」

 

【課題】

 ボールの動きを手軽に、さらに正確に検出

して記録できるシステムを提供する。

 

【解決手段】

 少なくとも3軸加速度センサー、3軸ジャイロ

センサーおよび3軸地磁気センサーとして機能

する第1のセンサーを内蔵したボール10で

あって、第1のセンサーにより検出されたセン

サーデータを無線により伝送する第1の通信

ユニットを含むボールと、第1の通信ユニットと

ペアリングされる第2の通信ユニットを含む

携帯端末20とを有するシステム1を提供する。

携帯端末は、ペアリングされたボールが単独で

移動する環境を示す外部情報を取得する

ユニットと、第1の通信ユニットおよび第2の

通信ユニットを介して得られたペアリングされた

ボールのセンサーデータを外部情報と関連

付けしてペアリングされたボールのボール

移動データを生成するユニットとを含む。

 

f:id:oukajinsugawa:20180410161146j:plain

f:id:oukajinsugawa:20180410161204j:plain

 

f:id:oukajinsugawa:20180410161217j:plain

 

 

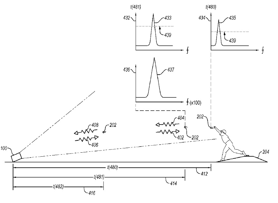
Rapsodo

US2017/0054950SYSTEMS AND METHODS

OF ANALYZING MOVING OBJECTS]

 

f:id:oukajinsugawa:20180410161232j:plain

 

 ということなのですが、他にはないのか?

というのを調べてみましょう。

 

 プラピ(J-PlatPat)さんが新しくなりました

ので、使い方も兼ねて調べてみましょう。

 

 FI特許分類を使って調べることにして、

A63B43/00「特殊な装置を有するボール」と

いうものと、G01P「直線速度または角速度,

加速度,減速度または衝撃の測定」で、

論理積を取ってみましょう。

(漏れなく検索する場合には、さらに広く、

ジャイロ効果を利用した角速度の測定G01C

1900などを入れてもよいですが結果は

変わりませんでした。)

 

 この前書いたように階層検索の入れ方が

変わりましたので、特許・実用新案検索画面で、

以下のように入れましょう。(右側が切れて

しまっていますが、論理積なので、ANDに

変更しています。)

 

f:id:oukajinsugawa:20180410161309j:plain

 

 そうすると、下の階層も検索してくれて、

以下のようになりました。

 

f:id:oukajinsugawa:20180410161326j:plain

 

 古いものもヒットするようになりましたね。

(関係ないものもありますが)

 

 ということで、他のメーカーさんも力を入れて

いるようですので、これらのボールを使って

練習すれば、大谷君のようになれるかも・・??

(なれなかったとしても、私は一切責任を持ちま

せんので、念のため。)