サンバイザーで、健康対策
梅雨でじめじめしていますが、紫外線
対策の暑い季節がもうそこに迫っていま
すね。
紫外線は5月6月も強いそうですが。
そういえば、今年の初めにあった、
アイ・セミコンダクタがClean_サンバイザ
というのを出展していましたが、あれ、
どうなったんでしょうね。
まだ発売されたという話を聞かないの
ですが。
http://www.sii-ic.com/jp/semicon/wearable2017/panel/
2月の日経産業新聞によると、秋にもUV
センサーのサンプル出荷を始めるとなっていて、
紫外線センサーは、すでに他社製品が存在
するため、後発組としては、日焼けやシミを
防ぎたい消費者をターゲットにしていると
書かれていました。
上のURLをさらにクリアにすると、以下の
ように、紫外線モニタと脳波モニターを備え、
バッテリーレスで健康管理をおこなうそう
ですが。

一番のミソは、紫外線センサーなわけですが、
どんな発明か見てみると、特開2016-181683
「光センサ装置及び光センサ装置の製造方法」
【課題】
パッケージの小型化、薄型化に適応でき、
紫外線透過特性が安定し、高い信頼性を
持った光センサ装置を提供する。
【解決手段】
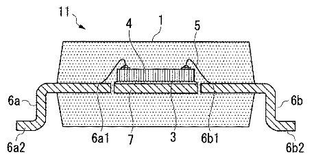
本発明の一態様に光センサ装置は、素子
実装部7と、前記素子実装部に載置された
光センサ素子4と、前記光センサ素子と接続
される第1接点6b1と外部に接続される第2
接点6b2とを有するリード6bと、前記光
センサ素子の受光面を少なくとも覆う樹脂
封止部1と、を備え、前記樹脂封止部は、
樹脂と、前記樹脂中に分散されてなり硼珪酸
系ガラスを含むガラスフィラーと、を有し、
前記樹脂封止部は、300nmから400nmの波長
範囲について40%以上の透過率を有する。
【背景技術】
【0002】
紫外線は人体に影響を及ぼす恐れのある
ものとして代表的な要素である。紫外線は、
皮膚や目に悪影響を与える波長帯を含むこと
から、身体の保護、影響の抑制に関する情報も
多く出されている。こうした健康被害への事前
予防や補助機能を持った製品は今後、さらに
注目されると同時に著しい拡大が見込まれる
分野である。半導体を利用したセンサも多く
用いられ、紫外線に応答して検知に用いる
ことも可能であることから、半導体紫外線
センサも製品化されている。例えば、特許
文献1には紫外線センサパッケージが記載
されている。
(上の例は浜松ホトニクスの、特開2004-
179258です。)

ということで、今年の夏には、このサンバイ
ザーは間に合わなさそうですので、来年の夏
には、如何に?