管清工業さんの下水管内チェックロボKPRO(ケープロ)
企業名は「管清工業株式会社」、
本社は東京都世田谷区、設立1962年、
資本金2億5千万円、従業員数392名、
売上高105億1,691万円、事業内容は、
建築物排水管、下水道管路施設の
総合維持管理、となっています。
https://www.kansei-pipe.co.jp/
ということで、この管清工業さんが、
作業員の入れないような細い下水管を
点検するための、小型機器を開発したと
いうのが新聞に出ていました。
車型で、搭載したビデオカメラで管内を
チェックするそうで、4つの車輪で毎分13
メートルで走行するそうです。
2015年7月22日付けの「日本下水道
新聞」(いろんな新聞があるんですね。)
にも、同じ記事が出ていましたが。
日本下水道新聞:管清工業 完全自走カメラ実用化-日本水道新聞社
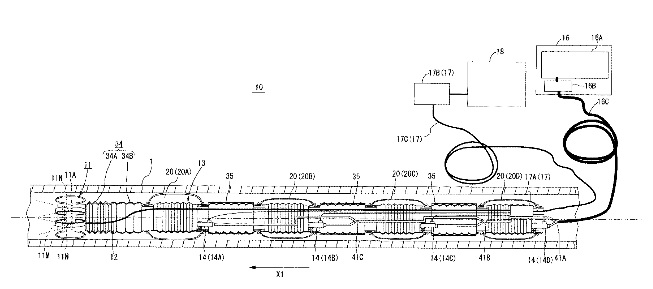
どんな発明かというと、特開2016-91283
「管路内撮影車」というもので、以下と
なります。
【課題】
簡単な構成であって障害物により前進が
妨げられたときの回収性に優れる管路内
撮影車を提供する。
【解決手段】
管路内撮影車1を、撮影車本体3と、この
撮影車本体3の幅方向両側に取り付けた
一対の走行車輪装置5と、撮影車本体3の
前端部に設けた撮影装置7と、から構成し、
撮影車本体3内に、バッテリと、このバッテリ
から電力の供給を受けて走行車輪装置5を
回転駆動する一対のDCモータと、撮影画像を
受け取ってメモリーカードに格納するカード
アダプタと、を収容しておく。過剰電流センサ
が所定値以上の電流を検出してから所定
時間経過したときに切替スイッチが作動し、
DCモータに流れる電流の向きを逆にして
DCモータを逆方向に回転駆動するように
構成する。

この管清工業さん、以下のような装置の研究も
おこなっていますよ。
・ 特開2014-228658「管体内探査装置」等

・ 特開2016-114090「管状移動体」等

