J-PlatPatを使い倒そう その36 ベイブレードバースト
「ズームイン!!サタデー」で、最新おもちゃと
いうものが取り上げられており、以前に取り上げた、
「野球盤3Dエースモンスタースタジアム」や、
「うまれて!ウーモ」などが取り上げられていました。
これの対戦型最新版2016年7月発売というものも、
取り上げられていました。
ということで、今回は、子供にねだられている
お父さん方(お母さん??)のために、最新型ベイ
ブレードバーストの知財情報を調べてみましょう。
このおもちゃは、ベイブレードを遊技台の中で
戦わせ、ベイブレードを分解させれば勝ちという
もので、非常に重要だったとみえて、以下のように、
早期審査により登録がされており、したがって、
出願の公開はされていません。

出願人は、タカラトミーさんと「株式会社
ホームページは以下となります。
内容は、以下となります。
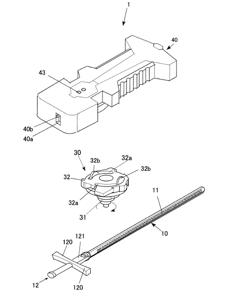
《全体構成》
実施形態のコマ玩具1は、いわゆる
コマバトルゲームに使用することが可能な
コマ玩具である。具体的には、このコマ玩具1は、
互いの衝突による衝撃力で相手方のコマ
玩具1を図1の右側のように分解させて勝利と
するようなコマバトルゲームに使用できる。







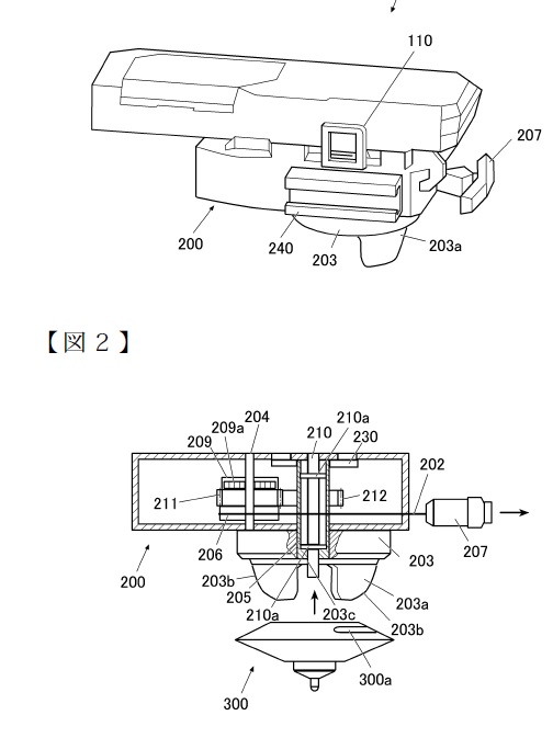
意匠のほうは、以下となっています。



さらに意匠の詳細を見たい方は、以下のように
して、是非どうぞ。

上は、出願が2014年1月1日から現在
までを指定していますが、古いものも見たい
場合は、たとえば
「20100101:」とか、
検索結果が1000件を超えると見ることが
できませんので、
「20050101:20100101」などとして、
見てください。