大和ハウスさんの移乗支援ロボ
大和ハウスさん、いろいろなロボット事業を
おこなっており、このブログでも、ロボットスーツ
HALや、コミュニケーションロボのパロなど、
いろいろ取り上げています。
ロボット事業|法人のお客さま(生活環境ソリューション)|大和ハウス工業
上のページにはまだ出ていませんが、
来年度にも移乗支援ロボを投入するという
記事が出ていますので、今回は、これを
調べてみましょう。
大和ハウス、介護用「移乗支援」ロボットを来年度投入-移乗と移動の機能を一体化、今秋にも実証 (日刊工業新聞電子版) - Yahoo!ニュース
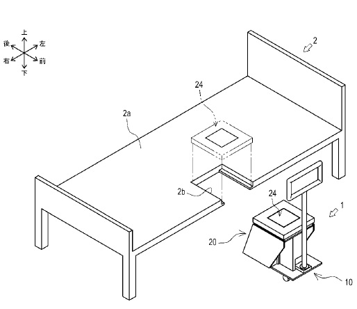
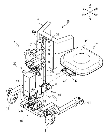
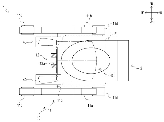
記事によると、この移乗支援ロボは移乗と
移動の二つの機能を一体化したものだそうで、
被介護者がベッドからロボットに乗り移るために、
クッション部に身を委ねると電動アシスト機能で
体が傾斜し、ロボの座面を起こして傾斜を戻すと、
被介護者が座面に腰掛けた状態で室内を移動
できるようになるんだそうです。
ロボの座面の高さはトイレの便器座面と同じ
なので、トイレ移乗にも配慮しています。
「HAL」やアザラシ型ロボ「パロ」などは、
他社の商品ですが、自社開発は、この移乗支援
ロボが、床下などの狭小空間点検ロボ「モー
グル」に続き2例目だそうです。
車いすなどへの移乗は、介助者の負担が大き
いですので、一人で乗り降りができるといい
ですね。
ということで、まずは、意匠登録を見てみると、
1502228、1502227、1502226、1502225の4件と
なっており、以下のような意匠になっています。

特許出願公開は7件ありますが、順番に
見て行くと、開発経緯が明確にわかります。
(発明の名称は、すべて「移乗支援装置」です)
・ 特開2014-230559


・ 特開2014-230560








便器に座ったり、立ち上がり支援もおこなって
くれるようですが、家庭でトイレに入るのには、
まだ、トイレを広くする必要があるようです。
・ 特開2015-062580、特開2015-177869

機能は、特開2014-230559と同じですが、
大分スマートになって来て、それぞれの
部品機構が進化しています。
・ 特開2015-217132





装置も大分コンパクトになって来たようです。
・ 特開2015-217165
これは、部品機構の発明です。
・ 特開2016-064079


ということで、まだ公開がされていない出願も
あると思いますが、是非、家を改造しないで、
安くて、トイレが使えるようなコンパクトな
移乗支援装置を作って欲しいものですね。
(家を、バリアフリーにしなくてはならない
ですが)