スタンレー電気さんの路面照射信号灯
CEATECで、スタンレーさんから、
停車やバックしたりするときに、道路に
矢印やカギかっこ状の模様を映し出して、
周囲に注意を促す新型ランプの発表が
あったんですってね。
私はCEATECに行っていないので、
日経産業新聞で知りました。
スタンレーさんでは、車が次に取る
動きを周囲に伝える「路面照射信号灯」
というのを開発したんだそうです。
ブレーキをかけたりバックしたり、方向
指示器を操作したりすると、ランプが点灯
するのと同時に、道路に模様を映し出すん
だそうですね。
これによって後続車や歩行者に気づか
せるんだそうですが。
発光ダイオードを使い、集光レンズで
光を集めて投影レンズで路面に光を
照射するそうです。
改良を進めて19年頃からの実用化を
めざすそうですが、まずはスタンレー
さんってどんな企業なんだ?ということ
から探ってみましょう。
よると、証券コードが6923、設立が
1933年、上場が1961年、自動車ランプで
御三家の1角だそうで、LED等の電子
機器事業が収益の柱で、ホンダさん
向けが4割で、新開発としては車や人
などセンサーで検知した情報でハイ
ビーム配光を自動制御するLEDヘッド
ランプがあるそうです。
株価を見ると、2012年に1,200円程度
まで落ち込みましたが、ここ1年の株価を
見ると2,200円から3,000円の間で推移
しているようです。
(10月末に平成28年3月期の業績予想を
営利、経常共、減額修正したため、株価が
一時400円ほど落ち込み2,300円ほどに
なりましたが、また少しづつ回復して
います)
ということで、このブログは株価予想
ブログではないので話を元に戻して、
スタンレー電気さんの御本名?は、
「スタンレー電気株式会社」、本社は
東京の目黒、設立は上記のように
1933年ですが、創業は1920年、
資本金は30,514百万円、連結従業員数
15,234名となっています。
https://www.stanley.co.jp/index.php
ちなみに社名の由来は、19世紀後半、
アフリカ大陸を探検したイギリスの探検家
ヘンリー・モルトン・スタンレー卿が“世界に
光明を掲げた”人物のため、これにちなん
だんだそうですよ。
有価証券報告書によると、平成27年
3月期の連結売上高は359,840百万円で
3通期連続で売り上げを伸ばし、営利、
経常、純利共、売り上げと同傾向と
なっています。
事業セグメントは、、四輪や二輪自動車の
ヘッドランプなどの自動車機器事業、LED
などのコンポーネンツ事業、LED照明などの
電子応用製品事業に分れており、2015年の
第110期事業レポートから抜粋貼り付け
させてもらうと以下のようになっています。

どんな研究開発をしてるんだ?という
のをここ10年での特許出願公開から筆頭
IPCのサブクラス分析をすると、以下の
ようになるんです。(100件以上を抜き
出しています)

スタンレーさんは、ホームページにある
ように、光、または灯りに特化した開発を
していて、これを生かすための、独自の
半導体も自社で開発しているのがわかり
ます。
ということで、スタンレーさんについて
ちょっとわかったような気が?して来ま
したので、今回のタイトルの「路面照射
信号灯」の特許出願について調べて
みることに致しましょう。
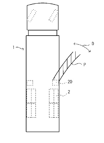
路面に模様を映し出して、注意を促す
方式は、スタンレーさんから2件出されて
おり、特開2014-101045「路面照射シス
テム」は、左折時、右折時に周囲に注意を
喚起するシステムで、特開2014-184876
「路面照射信号灯具」は、車両前方の
歩行者や対向車などにブレーキ操作を
知らせるという発明になっています。
まずは、左折時、右折時の注意喚起
システムですが、トラックなどの歩行者
巻き込み防止のために、日中などでも
明確に歩行者が認識できるように、
ハンドル操舵角と連動して、レーザー
光源などでホログラムなどを使用して
照射パターンを作製し、歩行者などに
知らせるシステムとなっています。



もう一つの車両前方の歩行者等に
注意を喚起するシステムは、ストップ
ランプで車の後ろに注意喚起する
システムは昔からありますが、 車両
前方の交差点等で道路を横断しよう
としている歩行者や、対向車等が、接近
してくる車両の運転者がブレーキ操作
しているのかどうか、すなわち、減速し、
停止する意思があるのかどうかを判断
することが可能な方法は、あまり効果
的なものがなかったので、前方の路面
にマークを照射する光学システムを発明
したんだそうです。




ということで、テレビドラマでヒロインが、
前方から高速で走って来た車に跳ね飛ばされ
るのか、はたまた大丈夫か?というのは、
今後は、路面照射システムが作動したか
しないかでわかるようになったりして、
ハラハラドキドキしながらテレビを見ると
いう楽しみがなくなってしまうかも???
ちなみに、三菱電機さんも同じような
仕組みを考えているようで、まあ、
皆さん、この分野でもいろいろ考えて
いるんでしょう。
意思表示するクルマ、ヘッドライト技術で実現:“明日”をつむぐテクノロジー