三輝さんの、詰め替えそのまま
三輝さんの「詰め替えそのまま」っていう
商品知ってます?
この商品は、シャンプーやボディーソープの
詰め替えパックをそのまま吊るして使う商品
だそうで、詰め替えの手間を省き、ボトルも
必要なくなるそうなんです。
この製品、発売以来6年間で、シリーズ
累計40万個の出荷実績だそうで、今では、
三輝さんの売上の15%ほどなんだそうです、
というようにいかにも知っているかの如く
書いてきましたが、実は、日本弁理士会の
広報誌に書いてあったんです。
日本弁理士会では季刊誌(機関紙??)
「PATENT AttorneY」というのを発行して
おり、会員にはこの紙バージョンが送られ
てくるんです。
(ただで送られて来るわけではなくって、
毎月、高ーい高い会費を取られているので
送られて来るんです。ちなみに、その前は
もっと高かったのですが、会員が増えて、
会費が少しお安くなりました。
弁理士試験の論文試験合格発表があった
ばかりですので、さらに会費が安くなる
ように、口述試験を受ける方には是非
頑張っていただいて会員になって
いただき、会費減に是非ご協力を???)
ということで、この秋号で、株式会社三輝
さんの「詰め替えそのまま」が紹介されて
いたんです。
(日本弁理士会のHPにもこれが上のように
アップされているのですが、URLでは、春号
までしかアップされていませんが、春号では、
以前に取り上げた企業、レオンさんの、「火星人
CN580」というのが取り上げられており、
肉まんのみならず、何でも包んでしまう、
万能タイプの包あん機だそうですよ。)
それでは、三輝さんて、どんな会社なんだ?
と調べてみると、花王さんとかのようにトイレタリー
事業がメインな企業ではなくって、流体継ぎ手
などの製品をODM・OEM(相手先ブランド
製品の製造販売)してきた会社なんです。
正式名称は、「株式会社三輝」、本社は、
町工場が集まる、東京大田区北糀谷、設立
1968年、資本金1000万円、事業内容は
流体継手の設計製造販売、となっています。
(「PATENT AttorneY」によると、国内
シェアは6割を越えると書いてあります)
さらに、「PATENT AttorneY」によると、
先代社長がシャンプーを詰め替える時に、
容器を間違えて、娘さんの不評をかったり
したので、日常生活で女性に喜んでもらえ、
地元工場の技術力をアピールできるように
いろいろ試行錯誤をして、流体継ぎ手の
逆止弁を応用して、パック内に空気が
入らない構造にして、パック内液体の
液体の変質を防ぎ、最後の一滴まで
使い切ることができるようにしたそうです。
(最近は、最後まで劣化しないように
使える、醤油パックなどもありますね)
ということで、早速プラピ(J-PlatPat)さんに
特許検索をお願いしてみると、出願公開は
47件、登録は20件と出てきましたが、富山の
「株式会社三輝」さんとかもヒットしてきます
ので、申請人識別番号で検索をかけると、
出願公開が22件、登録が15件と、出ま
したね。
そのうち「詰め替えそのまま」商品に
関係するのは、出願7件、登録は5件で、
登録は以下のようになっています。
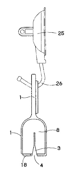
・ 特許4733676「挟持具」


・ 特許5330742「詰替えパウチの内容物取出装置」
特許5486669「詰替えパウチの内容物取出装置」

・ 特許5746591「吊り下げ具」


・ 特許5789101「詰替えボトル装置」
こちらは2015年8月7日に登録された
ばかりのほやほやで、「主として業務用に
使用することが快適な詰替えボトル装置」
だそうです。

それでは、意匠のほうではどうかいな?
ということで、申請人識別番号で検索すると、
以下のようになっています。

次は商標ですね。
商標のほうは、識別番号では検索
できませんので、「株式会社三輝」と
入れて、住所で選別すると、以下のように
登録されていました。
(「株式会社三輝」さんて、富山のほかに、
川崎、世田谷、大阪などにもありますよ)
大田区の三輝さんからは、以下のように
なっていました。
・ 登録5444800

・ 登録5444801

・ 登録5677738
標準文字で「フロートボトル」。
一番最初の商品情報でもこの商標が
ありました。
・ 登録5677739
標準文字で「ちゅーぶらりん」。
怠りないようですね。
2015年11月25日追記:
斎藤様、コメント、まことにありがとう
ございます。
このままアップして問題ないのかどうか
わかりませんが、そのままアップさせて
いただきます。
特定企業様に、ブログの上での返答を
することは差し控えますが、今後も、知財
関係での活動を期待しております。
またよろしくお願い致します。