コクヨさんの防災用救助笛ツインウェーブ
「ツインウェーブ(防災の達人)」が、2009年
発売以来累計出荷数が70万個を突破
したという記事が載っています。
個性発信・話題の商品/コクヨ−「ツインウェーブ(防災の達人)」 | 新製品 ニュース | 日刊工業新聞 電子版
電子版では、それ以上読めませんが、
コクヨさんのホームページでは、以下の
ように出ています。
防災用救助笛ツインウェーブ - 救助・避難用品 - ソナエル(SONAeL)防災ソリューション - ソリューション紹介 - コクヨS&T
人間の耳に最も聞こえやすい2種類の
音を同時に発するので、聞こえやすいのだ
そうですが。
どんな技術を使っているのか、特許を見て
みると、特許5424189「非常用携帯笛」として、
2013年に登録されています。
【課題】
普段、笛の吹き口が覆われていて衛生的で、
吊り下げ用ストラップにコンパクトに取り付け
可能で、複数音を同時に発生する等の非常用
携帯笛である。
【解決手段】
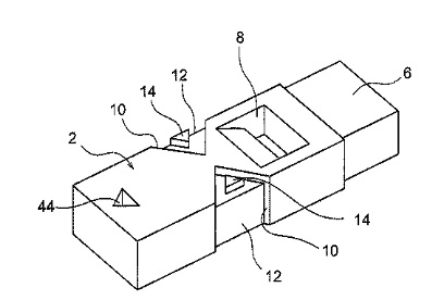
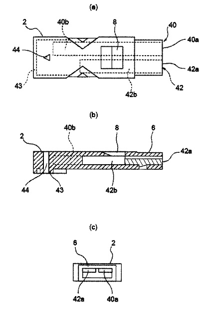
周波数3000~5000Hz内の少なくとも
低音側と高音側の2音を発生する矩形の
笛本体2と、笛本体のホルダ4とを備える。
ホルダは、平板部22を笛本体に下方から
当て、その両側のつまみ部24を笛本体の
両側面の切り欠き部10に嵌めて取り付け
られるホルダ本体16と、笛本体の吹き口
部分6に嵌める凹状のキャップ18と、ホルダ
本体とキャップとをリード開口8とは反対側の
位置で伸縮可能に連結した連結部20とを
備え、つまみ部の外面に凹凸部25を設け、
キャップに開口端側からスリット30を設け、
キャップにストラップを挟んで笛本体を係止
する幅方向一方側が自由端の係止部材
34を設けた。
ということで、複数の拭き口を設けている
そうです。


値段は500円となっていますので、防災用に
買っておいても損はないですね。
(コクヨさんの回し者ではありませんので、
念のため)