パナさんの介護ロボ、リショーネプラス
変形するという重度要介護者向け離床アシスト
ロボ「リショーネプラス」を2017年に発売する
とのことでしたが、いよいよ1月から発売
するようですね。
(上のYouTubeと、以下は、4月の発表の
ものです)
特別養護老人ホームや介護付有料老人
ホームなどに販売し、介護者の負担軽減に役
立てるそうですが。
どんな技術を使っているのかというと、
特許5807189(WO2013/042334、)という
もので、以下となっています。
【要約】
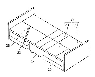
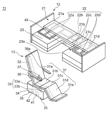
ベッド本体部(12)のベッド側基台部(23)の
凹部(23a)に車椅子(13)を合体させて人が
臥床するためのベッド(11)を形成するベッドの
合体方法であって、車椅子の座面部(31)の
形状を椅子形状としたまま、チルト動作で、
足置の位置を基台部より高く座面部を傾けた
チルト姿勢に椅子姿勢より姿勢変更させ、
車椅子を基台部の凹部に移動させ、座面部を
チルト姿勢より非チルト姿勢に変更させる。





値段は税抜き90万円だそうですが、もっと
安くしていただいて、家庭でも使えると、
いいですね。