Sマシンさんの、「つゆ・ダシます」や「ダッシー」って、どんな特許なんですか?
この前、がっちりマンデーで、大阪に
ある、Sマシン株式会社を取り上げて
いました。
この会社は、そばやうどんの「だし」を
作る機械を発明し、この「だしマシーン」が、
とのことでした。
Sマシンさんは、以下のURLとなり、
地域別設置状況や、業種別納入実績
なども書かれていますが、このSマシン
さん、設立は平成16年、資本金 1,000
万円、従業員数(総勢?)3名、業種は、
厨房機器製造販売、売上高が1億円
となっています。
(売り上げは、テレビで放送していたもの
です。)
HPでは、主な取引先は、グルメ杵屋、
システム、(株)ゼンショーホールディングスで、
業務内容が、専門店、事業所給食、高速道路の
SA、PAに等にマシンを使用して、つゆ、
ダシをとるシステムを提案し、販売する、
となっています。
テレビの説明では、まずは、粉末のもとを
セットし、お湯を注げば完成で、1時間で
最大160杯分のそば・うどんのつゆを作る
ことができ、1号機の名前が「つゆ・ダシます」、
2号機が「ダッシー」で、2号機のほうは、
世界で初めての、「圧力差抽出」というのを
使っているそうです。
HPページでは、それぞれの特許番号が
書かれていますので、それぞれを、見てみま
しょう。
・ 「つゆ・ダシます」
特許4010421「だし抽出装置」
【課題】
構成がコンパクトにして、美味しい調理用
つゆを効率良く製造することができる調理用
つゆ製造装置の提供。
【解決手段】
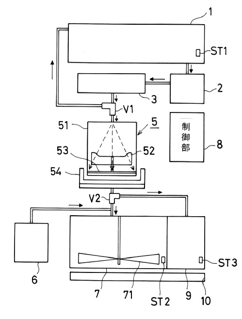
この調理用つゆ製造装置は、水を貯留する
水タンク1と、水タンク1に貯留されている水を
ヒータ部3に送るポンプ2と、水タンク1から
送られてきた水を加熱するヒータ3と、ヒータ部
3で加熱された熱湯を前記水タンク1に戻す
経路または抽出部5に送る経路に切り替える
切替弁V1と、だし材料からだしを抽出する
抽出部5と、かえし汁を貯留する貯留部6と、
抽出部5から送られただし汁と貯留部6から
送られたかえし汁とを混合した調理用つゆを
蓄える保温タンク7と、調理用つゆの製造を
制御する制御部8とを備えている。



・ 「ダッシー」
特許4702896「飲食用液体製造装置」
【課題】
本発明は、簡易な構成にして、装置の小型化、
製造コストの低減、商品電力の低減、および
容易なメンテナンスを実現することができる飲食
用液体製造装置の提供を課題とする。
【解決手段】
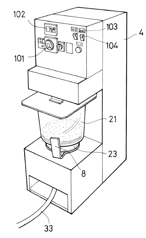
粉末状原料Fが収容されるとともに、複数
の細孔が穿設されたフィルタ26が底部21aに
設けられた第1の容器21と、第1の容器21内に
収容された粉末状原料Fに熱湯を噴射する熱湯
噴射部22と、第1の容器21の底部21a裏側に
設けられ、容器内が第1の容器21内とフィルタ
26を介して連通されるとともに、容器内の飲食用
液体を吐出するための吐出口23cが設けられた
第2の容器23と、第2の容器23の吐出口23cに
連通する態様で設けられ、第2の容器23内の
飲食用液体の吐出または停止を行うための
吐出弁32とを備える。
先ほど記載した、「圧力差抽出」というのは、
以下に書かれています。
【0009】
これによれば、第2の容器内の空気層の圧力
変化に伴って、第1の容器内の飲食用液体を
フィルタを介して吸引して、装置外に取り出す
ことができる。このため、従来の装置に設けら
れていたような撹拌部材を第1の容器内に設け
る必要がなくなり、簡易な構成にして、装置の
小型化、製造コストの低減、商品電力の低減、
および容易なメンテナンスを実現することが
できる。



登録はこの2件だけですが、これ以前に、
特開2005-151861「調理用つゆ製造装置」、
特開2005-194800「だし抽出装置」という
出願があり、これらの発明から、「つゆ・
ダシます」と「ダッシー」に、昇華したの
でしょう。