プリンテッドエレクトロニクス技術
この前、下のように、AgICさんを取り
上げましたが、今回はその続編です。
上のように、導電性インクを使い、紙に
書いて導電回路を作製するマーカーや、
紙に印刷できる銀ナノ粒子インクカートリッジ
などがすでに発売されており、プリンタブル
回路形成技術の開発なども盛んです。
ということで、AgICさんからのつい最近の
公開公報がありますので、見てみましょう。
2つあって、両方とも、出願が2014年の
9月、公開が2016年の4月21日で、
特開2016-58460と特開2016-58461で、
発明の名称は、両方とも、「導電パターン
消去方法および消去具」となります。
・ 特開2016-58460
【課題】
導電性インクを用いて基材上に形成された
導電膜よりなる導電パターンの消去対象
箇所の導電性を失わせることができる導電
パターン消去方法およびこれに用いる消去
具を提供する。
【解決手段】導電性インクを用いて基材上に
形成された導電膜よりなる導電パターンの
消去対象箇所の導電性を失わせるために、
所定の液体を含ませた摺擦材(スポンジ20)
により導電パターンの消去対象箇所を摺擦する
ことにより消去対象箇所の導電膜を剥離する。

・ 特開2016-58461
【課題】
導電性インクを用いて基材上に形成された
導電パターンの消去対象箇所の導電性を、
簡便かつ迅速に失わせる。
【解決手段】
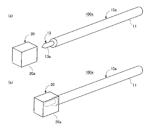
導電パターンを消去する際、消去具100の
保持部10の先端にある所定の液体を浸潤
させた繊維製先端部材(ニブ)12で導電
パターンの消去対象箇所を摺擦することに
より消去対象箇所の導電性インク中の金属
超微粒子を繊維に吸収させる。これにより、
導電パターンの消去対象箇所の導電性を
失わせる。

AgICさん、書くだけでなく、失敗した時の
消去法も考えていたんですね。
それでは、本格的な産業用回路基板の
生産方法でも何か研究がされているのか?
ということで、こちらも登録ほやほやの、
プリンテッドエレクトロニクス技術の発明が
ありますので、見てみましょう。
で、出願は2014年の8月、公開日が2016年
4月7日、「早期に審査をおねげーしますだ」、
「よーし、わかった、一肌脱ごう」という
やり取りがあって(このようなやり取りが
あったかどうかは保証できませんので、
念のため)、登録は2016年4月の15日
特許第5916159号「金属パターンの形成
方法及び導電体」(特開2016-48601)と
いうものです。
回路基板の製造には、温度をかける必要が
あるわけなんですが、この発明は以下の
ようなものなんです。
【課題】
樹脂等の基材上に金属パターンを形成する
方法について、高精細且つ強固な金属パタ
ーンを比較的低温で形成可能な方法を提案する。
【解決手段】
本発明は、基材上の一部又は全部の領域に
設定されたパターン形成部に金属パターンを
形成する方法において、前記基材は、少なくとも
前記パターン形成部を含む表面上にフッ素含有
樹脂層を備えるものであり、前記フッ素含有樹脂層
表面のパターン形成部に紫外線照射等の処理
により官能基を形成した後、第1の保護剤である
アミン化合物と、第2の保護剤である脂肪酸に
より保護された金属微粒子が溶媒に分散して
なる金属微粒子分散液を前記基材表面に塗布し、
前記金属微粒子を前記パターン形成部に固定
する工程を含むことを特徴とする金属パターンの
形成方法である。
下は比較例の写真です。

回路基板作成(作製)技術についても、
いろいろあるんですね。
さらに詳しくプリンテッドエレクトロ
ニクスについて知りたい方は、以下も
どうぞ。
http://www.aist.go.jp/aist_j/press_release/pr2016/pr20160420/pr20160420.html