知財アナリストのひとりごと

特許情報分析・知財戦略をやさしく解説します

2016-12-15から1日間の記事一覧

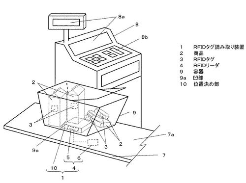
パナさんのレジロボ君特許出願技術

最近、小売りについて、いろいろな実証 実験や、方法が発表されていますね。 たとえば、アマゾンなどは、食品や日用 品を、家庭からボタンを押すだけで簡単に 発注できる小型端末「アマゾンダッシュ ボタン」を販売開始したり、スマホをかざす だけで、店舗…